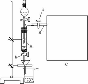
9、     三氯化铁是中学化学实验室中必不可少的重要试剂。某同学利用废铁屑(含少量铜等不与盐酸反应的杂质)来制备 FeCl3•6H2O,该同学设计的实验装置如图所示,A中放有m克废铁屑,烧杯中盛有过量的稀硝酸,实验时打开a ,关闭b ,从分液漏斗内向A中加过量的稀盐酸,此时溶液呈浅绿色,再打开b 进行过滤,过滤结束后,取烧杯内溶液倒入蒸发皿加热,蒸发掉部分水并使多余H NO3分解,再降温结晶得FeCl3•6H2O晶体。

填写下列空白:

⑴ 如何检查装置A的气密性:      

                   

⑵ 滴加盐酸时,发现反应速率较之同浓度盐酸与铁粉反应要快,其原因是                                  

⑶ 将烧杯内溶液用蒸发、浓缩、再降温结晶法制得FeCl3•6H2O晶体,而不用直接蒸发结晶的方法来制得晶体的理由                 

                     

⑷ 用该法制得的晶体中往往混有Fe (NO3) 3,为了制得较纯净的FeCl3•6H2O,可将烧杯内的稀硝酸换成                           

⑸ 若要测废铁屑的纯度,可测出从B中放出气体的体积V (已折算成标准状况,单位:L),则废铁屑的纯度为:           (用m、V的代数式表示),请在框图C中画出必要的装置

8、电镀厂曾采用有氰电镀工艺,由于排放的废水中含有的剧毒CN离子,而逐渐被无氰电镀工艺替代。处理有氰电镀的废水时,可在催化剂TiO2作用下,先用NaClO将CN离子氧化成CNO,再在酸性条件下继续被NaClO氧化成N2和CO2。环保工作人员在密闭系统中用下图装置进行实验,以证明处理方法的有效性,并测定CN被处理的百分率。

将浓缩后含CN离子的污水与过量NaClO溶液的混合液200 mL(其中CN的浓度为0.05 mol·L-1)倒入甲中,塞上橡皮塞,一段时间后,打开橡皮塞和活塞,使溶液全部放入乙中,关闭活塞。

(1) 甲中反应的离子方程式为                  

乙中反应的离子方程式为                   

(2) 乙中生成的气体除N2和CO2外,还有HCl及副产物Cl2等,上述实验是通过测定二氧化碳的量来确定对CN的处理效果。

丙中加入的除杂试剂是       (填字母)

a.饱和食盐水                      b.饱和NaHCO3溶液   

c.浓NaOH溶液                    d.浓硫酸

(3)丁在实验中的作用是                   

(4)戊中盛有足量的石灰水,若实验中戊中共生成0.82 g沉淀,则该实验中测得CN被处理的百分率等于       

请说明该测得值与实际处理的百分率相比偏高还是偏低?简要说明理由______  __

_                                  _

6、  某中学生取纯净的Na2SO3·7H2O 50.00 g,在密闭容器中经600℃以上的强热至恒重,分析及计算表明,恒重后的样品质量相当于无水亚硫酸钠的计算值,而且各元素的组成也符合计算值,但将它溶于水,却发现溶液的碱性大大高于同时配制的亚硫酸钠溶液。经过他的实验和思考,这位同学解释了这种反常现象。

(1)他将恒重后的样品溶于水配成溶液,为加速溶解,可采取        的措施,观察发现样品全部溶解,溶液澄清;

(2)取少量(1)中所配溶液,加入足量的     (填一种酸),再加入氯化钡溶液有白色沉淀,说明产物中含有      (填离子符号)。

(3)另取少量(1)中所配溶液于试管中,滴加少量盐酸,看到气泡产生,通过  

        方法闻到臭鸡蛋气味,说明生成     气体,写出生成该气体的离子反应方程式                     ;同时发现溶液变浑浊,原因是:(用离子方程式表示)                      

(4)根据以上实验,该同学经分析解释了以上实验中的反常现象,请你用一个化学方程式表示:                                  。这一反应在上述实验中           (填是、否或不能确定)完全进行。

3、有机合成

有机合成常用的解题方法。

解答有机合成与推断问题的常用方法有“正推法”和“逆推法”。具体的某一个题目是用正推法还是逆推法,还是二者相结合,这要由题目给出的条件决定。近几年考题中出现的问题多以逆推为主,使用该方法的思维途径是:

①首先确定所要合成的有机物属何类别,以及题中所给定的条件与所要合成的有机物之间的关系。

②以题中要求最终产物为起点,考虑这一有机物如何从另一有机物甲经过一步反应而制得。若甲不是所给已知原料,需要进一步考虑甲又是如何从另一有机物乙经一步反应制得,一直推导到题目中给定的原料为终点。

③在合成某一种产物时,可能会产生多种不同的方法和途径,应当在兼顾原料省、产率高的前提下选择最合理、最简单的方法和途径。

☆例题精析

[例1]某小孩偏食,喜欢吃一些豆类物质制成的食品,不喜欢吃动物性食品。该豆类作物中含有的天然蛋白质在酶的作用下,水解生成A、B两种有机物。其中A的化学式是C4H7O4N,B的化学式是C6H14O2N2。已知A、B的分子结构中均不含甲基,且链端都有官能团。

(1)试出A、B的结构简式。

(2)该小孩长期偏食,如不加以纠正,将出现什么后果?

(3)题中的酶的作用是什么?影响其作用的主要因素有哪些?

[例2]已知两个羧基之间在浓硫酸作用下脱去一分子水生成酸酐,如:

+H2O

某酯类化合物A是广泛使用的塑料增塑剂。A在酸性条件下能够生成B、C、D。

(1)CH3COOOH称为过氧乙酸,写出它的一种用途     

(2)写出B+E→CH3COOOH+H2O的化学方程式           

(3)写出F可能的结构简式                 

(4)写出A的结构简式               

(5)1摩尔C分别和足量的金属Na、NaOH反应,消耗Na与NaOH物质的量之比是      

(6)写出D跟氢溴酸(用溴化钠和浓硫酸的混合物)加热反应的化学方程式:

                            

 [答案]:

例1(1)  A:HOOC-CH2-CH­-COOH  B、H2N-CH2-CH2-CH2-CH2-CH-COOH

(2)长期偏食,  食物种类过于单一,体内形成的氨基酸种类少导致蛋白质合成受阻,造成营养不良。

(3)该酶作催化剂。影响因素主要有温度和酸碱性。

例2(1)杀菌消毒

(2)CH3-OH+H2O2→CH3-O-OH+H2O

(3)     

(4)

(5)4︰3

(6)CH3CH2CH2CH2OH+HBrCH3CH2CH2CH2Br+H2O

 0  34026  34034  34040  34044  34050  34052  34056  34062  34064  34070  34076  34080  34082  34086  34092  34094  34100  34104  34106  34110  34112  34116  34118  34120  34121  34122  34124  34125  34126  34128  34130  34134  34136  34140  34142  34146  34152  34154  34160  34164  34166  34170  34176  34182  34184  34190  34194  34196  34202  34206  34212  34220  447348 

违法和不良信息举报电话:027-86699610 举报邮箱:58377363@163.com

精英家教网