19.(12分)喷泉是一种常见的自然现象,其产生原因是存在压强差。
(1)图1为化学教学中所用的喷泉实验装置,在烧瓶中充满干燥气体,胶头滴管及烧杯中分别盛有液体,下列组合不可能形成喷泉的是 。
A.HCl和H2O B.O2和H2O C.NH3和H2O D.CO2和NaOH溶液
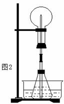
(2)某学生积极思考产生喷泉的其他办法,并设计了如图2所示的装置。
①在图2的锥形瓶中,分别加入足量的下列物质,反应后可能产生喷泉的是 。
A.Cu与稀盐酸 B.NaHCO3与NaOH溶液 C.CaCO3与稀硫酸 D.NH4HCO3与稀盐酸
②在图2锥形瓶外放一水槽,瓶中加入酒精,水槽中加入冷水后,再加入足量的下列物质,结果也产生了喷泉。水槽中加入的物质可以是 。
A.浓硫酸 B.食盐 C.硝酸钾 D.硫酸铜
这种方法产生喷泉的原理是 。
③比较图1和图2两套装置,从产生喷泉的原理来分析,图1是 上部烧瓶内气体压强;图2是 下部锥形瓶内气体压强(均填增大或减小)。
(3)城市常见的喷泉及火山爆发的原理与上述 (填图1或图2)装置的原理相似。
18.将胆矾与生石灰、水按质量比为1∶0.56∶100混合配成无机铜杀菌剂波尔多液,其成分的化学式可表示为CuSO4·xCaSO4·xCu(OH)2·yCa(OH)2 ,此种配比当x=3时,则y为
A.1 B.3 C.5 D.7
第Ⅱ卷(非选择题 共78分)
17.设NA表示阿伏加德罗常数,下列说法不正确的是
A.a g H2和b g He在同温同压时的体积比为a∶2b
B.2 L 0.1 mol/L的H2S溶液中,含有的H2S分子数小于0.2NA
C.78 g Na2O2与水充分反应,转移的电子数目为NA
D.1 mol FeCl3跟水反应完全转化成氢氧化铁胶体后,生成胶体粒子的数目为NA
16.将Na2CO3· 10H2O和 NaHCO3的混合物n g,溶于水制成200 mL溶液,测得
c(Na+)=0.5mol/L。若将n g该混合物加热至质量不再改变时,得到的固体物质的质量为
A.3.l g B.5.3 g C.9.0 g D.11.0 g
15.下列离子方程式书写正确的是
A.向碳酸氢钙溶液中加入足量的氢氧化钠溶液:
Ca2++HCO+OH-====CaCO3↓+H2O
B.钠投入硫酸铜溶液中:
Na + Cu2++ 2H2O====Na+ + Cu(OH)2↓+H2↑
C.向碳酸钠溶液中缓慢滴入几滴稀盐酸并不断搅拌:
CO+ H+====HCO
D.硫酸镁溶液中加入氢氧化钡溶液:
SO+ Ba2+ ==== BaSO4↓
14.由两种短周期元素A和M形成的离子化合物A2M3,A3+离子比M2-离子少一个电子层,且A3+具有与Ne原子相同的核外电子层结构,则下列说法正确的是
A.化合物A2M3是三氧化二铝
B.A3+和M2-最外电子层上的电子数都是8
C.A的最高价氧化物对应的水化物是强电解质
D.元素M是第3周期第VI族的元素
13.对于右图所示装置的叙述正确的是
A.这是一个原电池的装置
B.这是电解NaOH溶液的装置
C.Pt为正极,其电极反应为:2H++ 2e-====H2↑
D.Fe为负极,其电极反应为:4OH-- 4e-====2H2O + O2↑
12. 不久前,科学家将6630Zn和20882Pb的原子经核聚合放出一定数目的中子,得到112号新元素,该元素原子的质量数为267。下列说法正确的是
A. 该元素位于第7周期第VIII族
B. 该元素的原子核外共有8个电子层
C. 该元素是“两性”金属元素
D. 66Zn和208Pb两原子聚合成该元素的原子时,同时释放出7个中子
11.化合物甲,乙、丙有如下反应转化关系:
丙的结构简式不可能是
A.CH3CH2CHBrCH2Br B.CH3CH(CH2Br)2
C.CH3CHBrCHBrCH3 D.(CH3)2CBrCH2Br
10. G、Q、X、Y、Z均为氯的含氧化合物,我们不了解它们的化学式,但知道它们在一定条件下具有如下的转换关系(未配平)
(1) G®Q + NaCl (2) Q + H2O X + H2
(3) Y + NaOH®G+Q+H2O (4) Z+NaOH®Q+X+H2O
这五种化合物中氯的化合价由低到高的顺序是
A.QGZYX B.GYQZX C.GYZQX D. ZXGYQ