13、在图8中,标出通电螺线管和小磁针的N、S极及磁感线的方向。
12、重为3N的小球静止在水平面上,用力的图示法在图7中画出它所受重力G。
11、在图6中,根据给出的入射光线AO画出反射光线OB,并标出反射角及其度数。
10、某小组同学研究动滑轮的使用特点,他们先用弹簧测力计缓慢提起钩码,如图5(a)所示,再分别用重力不同的动滑轮甲、乙、丙(G甲>G乙>G丙)缓慢提起相同钩码,如图5(b)、(c)、(d)所示。请仔细观察图是的操作和弹簧测力计的示数,然后归纳得出结论。
(1) 比较图5(a)与(b)[或(a)与(c),或(a)与(d)]两图可得:_________________
__________________________________________________________;
(2) 比较图5(b)与(c)与(d)三图可得__________________________________
__________________________________________________________。
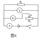
9、在图4的示所示的电路中,电源电压保持不变。闭合电键S,当滑动变阻器的滑片P向左移动时,电压表V的示数将______________,电流表A与电流表A1示数的差值将_____________。(均选填“变大”、“不变”或“变小”)
8、重为9.8N的木块漂浮在水面是且保持静止,木块所受浮力的大小为_______N,浸在水中的体积为___________m3。
7、若10s内通过某导体横截面的电量为2库,通过导体的电流为________A,此时导体两端的电压为6V,其电阻为______Ω。当该导体两端的电压为3V时,该导体电阻为_____Ω。
6、木块在大小为2N的水平拉力作用下,10s内在水平面上沿拉力方向前进1m,拉力功为________J,功率为_______w;若木块重5N,在此过程中重力对木块做功为________J。
5、2008年北京奥运火炬传递的主题是“传递激情,传递梦想”。若火炬手以1m/s的速度沿直线匀速通过60m,需________s,以路旁的树木为参照物,火炬手是________的。(选填“静止”或“运动”)。
4、如图3所示,小朋友从滑梯上滑下,其重力势能__________(选填“增大”或“减小”),他与滑梯接触面间的摩擦是__________摩擦(选填“滚动”可“滑动”)。当他滑至水平面进,还会继续向前运动,是由于他具有______ ___。