如图所示,吊篮P悬挂在天花板上,与吊篮质量相等的物体Q被固定在吊篮中的轻弹簧托住,当悬挂吊篮的细绳烧断的瞬间,吊篮P和物体Q的加速度大小是
A.aP=aQ=g
B.aP=2g,aQ=g
C.aP=g,aQ=2g
D.aP=2g,aQ=0
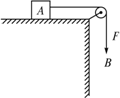
如图所示,不计绳的质量及绳与滑轮的摩擦,物体A的质量为M,水平面光滑,当在绳端施以F=mg的竖直向下的拉力作用时,物体A的加速度为a1,当在B端挂一质量为m 的物体时,A的加速度为a2,则a1与a2的关系正确的是
A.a1=a2
B.a1>a2
C.a1<a2
D.无法判断
质量为60 kg的人,站在升降机内的台秤上,测得体重为480 N,则升降机的运动应是
A.匀速上升或匀速下降
B.加速上升
C.减速上升
D.减速下降
在粗糙水平面上,质量为m的物体,受水平拉力F作用后产生的加速度为a,物体受到摩擦力为Ff,如果把拉力改为2F,则有
A.加速度仍为a
B.加速度变为2a
C.摩擦力仍为Ff
D.摩擦力变为2Ff
静止在光滑水平面上的物体,在开始受到水平拉力的瞬间,下述正确的是
A.物体立刻产生加速度,但此时速度为零
B.物体立刻运动起来,有速度,但加速度还为零
C.速度与加速度都为零
D.速度与加速度都不为零
如图所示,台秤上装有盛水的杯,杯底用细绳系一木质小球,若细线突然断裂,则在小木球上浮到水面的过程中,台秤的示数将
A.变小
B.变大
C.不变
如图所示,物体在水平力作用下,静止在斜面上,若稍微减小水平推力F,而物体仍能保持静止,设斜面对物体的静摩擦力为Ff,物体所受的支持力为FN,则
A.Ff和FN都一定减小
B.Ff和FN都不一定减小
C.Ff不一定减小,FN一定减小
D.Ff一定减小,FN不一定减小
如图所示,ad、bd、cd是竖直面内三根固定的光滑细杆,每根杆上套着一个小滑环(图中未画出),三个滑环分别从a、b、c处释放(初速度为0),用t1、t2、t3依次表示各滑环到达d所用的时间,则
A.t1<t2<t3
B.t1>t2>t3
C.t3>t1>t2
D.t1=t2=t3
一质量为m的物块以一定的初速度滑上斜面,又返回斜面底端,上升和下滑过程的加速度的大小之比a1/a2=3/2,物块与斜面间的滑动摩擦力的大小为
A.mg
B.mgsin
C.mg
D.mgsin
三个完全相同的物块1、2、3放在水平桌面上,它们与桌面间的动摩擦因数都相同.现用大小相同的外力F沿图所示方向分别作用在1和2上,用的外力沿水平方向作用在3上,使三者都做加速运动,令a1、a2、a3分别代表物块1、2、3的加速度,则
A.a1=a2=a3
B.a1=a2,a2>a3
C.a1>a2,a2<a3
D.a1>a2,a2>a3