如图所示为“研究电磁感应现象”的实验装置.
(1)将图中所缺的导线补接完整.
(2)如果在闭合电键时发现灵敏电流计的指针向右偏了一下,那么合上电键后,以下操作中可能出现的情况是:
A.将A线圈迅速插入B线圈时,灵敏电流计指针将向________(填“左”或“右”)偏一下;
B.A线圈插入B线圈后,将滑动变阻器触头迅速向左拉时,灵敏电流计指针将向________(填“左”或“右”)偏一下.
在测定电源电动势和内阻的实验中某同学所用电路图和测得的数据如下:
(1)在下面给出的U-I坐标系中用给出的数据画出U-I图线(横、纵坐标的起点已经规定好),从图象中可以发现该同学记录的第________组数据有误.
(2)由图求得电动势E=________V,内阻r=________Ω.(均保留2位有效数字).
(3)误差分析:E测________E真r测________r真(填>、=、<)
如下图甲为多用电表的示意图,现用它测量一个阻值约为20 Ω的电阻,测量步骤如下:
(1)调节________,使电表指针停在指针对准________的“0”刻线(填“电阻”或“电流”).
(2)将选择开关旋转到“Ω”档的________位置.(填“×1”、“×10”、“×100”或“×1k”)
(3)将红、黑表笔分别插入“+”、“-”插孔,并将两表笔短接,调节________,使电表指针对准________的“0”刻线(填“电阻”或“电流”).
(4)将红、黑表笔分别与待测电阻两端相接触,若电表读数如下图所示,该电阻的阻值为________Ω.
(5)测量完毕,将选择开关旋转到“OFF”位置.
在“探究加速度与力、质量的关系”的实验中,采用的科学研究方法是________.某同学在保持小车质量不变的情况下,通过多次改变对小车的拉力,由实验数据作出的a-F图象如下图所示,则该图象中图线不过原点的原因是:________.
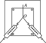
在互成角度的两个共点力的合成实验中,其中的三个实验步骤如下:
(1)在水平放置的木板上垫一张白纸,把橡皮条的一端固定在木板上,另一端拴两根细线,通过细线同时用两个弹簧测力计互成角度地拉橡皮条,使它与细线的结点达到某一位置O点,在白纸上记下O点的位置和两弹簧测力计的读数F1和F2.
(2)在纸上根据F1和F2的大小,应用平行四边形定则作图求出合力F.
(3)只用一只弹簧测力计通过细绳拉橡皮条,使它的伸长量与用两只弹簧测力计同时拉时相同,记下此时弹簧测力计的读数及其方向.
以上三个步骤中均有错误或疏漏:
(1)中是_____________________.
(2)中是_____________________.
(3)中是_____________________.
现要验证“当质量一定时,物体运动的加速度与它所受的合外力成正比”这一物理规律.给定的器材如下:一倾角可以调节的长斜面(如图)、小车、计时器一个、米尺.填入适当的公式或文字,完善以下实验步骤(不考虑摩擦力的影响):
①小车自斜面上方一固定点A1从静止开始下滑至斜面底端A2,记下所用的时间t
②用米尺测量A1与A2之间的距离 s,则小车的加速度a=________.
③用米尺测量A1相对于A2的高h.设小车所受重力为mg,则小车所受的合外力F=________.
④改变________仍从A1释放到A2,重复上述测量.
⑤以h为横坐标,1/t2为纵坐标,根据实验数据作用作图.如能得到一条过原点的直线,则可以验证“当质量一定时,物体运动的加速度与它所受的合外力成正比”这一规律.
现要验证“当质量一定时,物体运动的加速度与它所受的合外力成正比”这一物理规律.给定的器材如下:一倾角可以调节的长斜面(如图)、小车、计时器一个、米尺.
(1)填入适当的公式或文字,完善以下实验步骤(不考虑摩擦力的影响):
③用米尺A1相对于A2的高h.设小车所受重力为mg,则小车所受的合外力F=________.
④改变________,重复上述测量.
(2)在探究如何消除上述实验中摩擦阻力影响的过程中,某同学设计的方案是:
①调节斜面倾角,使小车在斜面上匀速下滑.测量此时A1点相对于斜面底端A2的高度ho.
②进行(1)中的各项操作.
③计算与作图时用(h-ho)代替h.
对此方案有以下几种评论意见:
A.方案正确可行
B.方案的理论依据正确,但利用所给的器材无法确定小车在斜面上是否做匀速运动.
C.方案的理论依据有问题,小车所受摩擦力与斜面倾角有关.
其中合理的意见是________.
在测定一节干电池的电动势和内电阻的实验中,备有下列器材:
A.待测的干电池(电动势约为1.5 V,内电阻小于1.0 Ω)
B.电流表G(满偏电流3 mA,内阻Rg=10 Ω)
C.电流表A(0~0.6 A,内阻0.1 Ω)
D.滑动变阻器R1(0~20 Ω,10 A)
E.滑动变阻器R2(0~200 Ω,1 A)
F.定值电阻R0(990 Ω)
G.开关和导线若干
(1)某同学发现上述器材中虽然没有电压表,但给出了两个电流表,于是他设计了如图所示中甲的(a)、(b)两个参考实验电路,其中合理的是________图所示的电路;在该电路中,为了操作方便且能准确地进行测量,滑动变阻器应选________(填写器材前的字母代号)
(2)图乙为该同学根据(1)中选出的合理的实验电路利用测出的数据绘出的I1-I2图线(I1为电流表G的示数,I2为电流表A的示数),则由图线可以得被测电池的电动势E=________V,内阻r=________Ω.
在“测定金属电阻率”的实验中,用千分尺测量金属丝的直径,利用伏安法测量金属丝的电阻.千分尺示数及电流表、电压表的示数都如下图所示,则可读出该金属丝的直径是________mm,金属丝的电阻值是________Ω(要求保留三位有效数字).除此以外,还需测量的物理量是________,电路选择电流表________(内、外)接法.
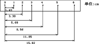
某同学在“用打点计时器测速度”的实验中,用打点计时器记录了被小车拖动的纸带的运动情况,在纸带上确定出0、1、2、3、4、5、6共7个测量点.其相邻点间的距离如图所示,每两个相邻的测量点之间的时间间隔为0.10 s,完成下面问题.
(1)
根据打点计时器打出的纸带,我们可以直接得到的物理量是
A.
时间间隔
B.
加速度
C.
瞬时速度
D.
平均速度
(2)
根据纸带上各个测量点间的距离,某同学已将1、2、3、5点对应的时刻的瞬时速度进行计算,并填入表中,请你将4点对应的时刻的瞬时速度填入表中;(要求保留3位有效数字)
(3)
在图所示的直角坐标系中画出小车的瞬时速度随时间变化的关系图线.
(4)
由图像求出小车的加速度a=________m/s2.