表格中所列数据是测量小灯泡 U-I关系的实验数据:
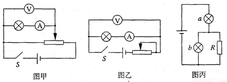
(1)分析上表内实验数据可知,应选用的实验电路图是图______(填“甲”或“乙”);

(2)在方格纸内画出小灯泡的U-I曲线.分析曲线可知小灯泡的电阻随I变大而______(填“变大”、“变小”或“不 变”);
(3)如图丙所示,用一个定值电阻R和两个上述小灯泡组成串并联电路,连接到内阻不计、电动势为3V的电源上.已知流过电阻R的电流是流过灯泡b电流的两倍,则流过灯泡b的电流约为______A.
0 70752 70760 70766 70770 70776 70778 70782 70788 70790 70796 70802 70806 70808 70812 70818 70820 70826 70830 70832 70836 70838 70842 70844 70846 70847 70848 70850 70851 70852 70854 70856 70860 70862 70866 70868 70872 70878 70880 70886 70890 70892 70896 70902 70908 70910 70916 70920 70922 70928 70932 70938 70946 176998
| U(V) | 0.0 | 0.2 | 0.5 | 1.0 | 1.5 | 2.0 | 2.5 | 3.0 |
| I(A) | 0.000 | 0.050 | 0.100 | 0.150 | 0.180 | 0.195 | 0.205 | 0.215 |
(2)在方格纸内画出小灯泡的U-I曲线.分析曲线可知小灯泡的电阻随I变大而______(填“变大”、“变小”或“不 变”);
(3)如图丙所示,用一个定值电阻R和两个上述小灯泡组成串并联电路,连接到内阻不计、电动势为3V的电源上.已知流过电阻R的电流是流过灯泡b电流的两倍,则流过灯泡b的电流约为______A.