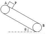
如图所示,倾角θ=37°的传送带上,上、下两端相距S=7m.当传送带以u=4m/s的恒定速率顺时针转动时,将一个与传送带间动摩擦因数μ=0.25的物块P轻放于A端,P从A端运动到B端所需的时间是多少?
当物体从高空下落时,所受阻力会随物体的速度增大而增大,因此经过下落一段距离后将匀速下落,这个速度称为此物体下落的收尾速度.研究发现,在相同环境条件下,球形物体的收尾速度仅与球的半径和质量有关.下表是某次研究的实验数据
(1)根据表中的数据,求出B球与C球在达到终极速度时所受阻力之比.
(2)根据表中的数据,归纳出球型物体所受阻力f与球的速度大小及球的半径的关系(写出有关表达式、并求出比例系数).
(3)现将C号和D号小球用轻质细线连接,若它们在下落时所受阻力与单独下落时的规律相同.让它们同时从足够高的同一高度下落,试求出它们的收尾速度;并判断它们落地的顺序(不需要写出判断理由).
| 小球编号 | A | B | C | D | E |
| 小球的半径(×10-3m) | 0.5 | 0.5 | 1.5 | 2 | 2.5 |
| 小球的质量(×10-6kg) | 2 | 5 | 45 | 40 | 100 |
| 小球的收尾速度(m/s) | 16 | 40 | 40 | 20 | 32 |
(2)根据表中的数据,归纳出球型物体所受阻力f与球的速度大小及球的半径的关系(写出有关表达式、并求出比例系数).
(3)现将C号和D号小球用轻质细线连接,若它们在下落时所受阻力与单独下落时的规律相同.让它们同时从足够高的同一高度下落,试求出它们的收尾速度;并判断它们落地的顺序(不需要写出判断理由).
关于系统内的一对作用力与反作用力,下列说法正确的是( )
A.它们做功一正一负,代数和必为零
B.它们做功一正一负,代数和必为负
C.它们做功不会改变系统的总动能
D.它们的冲量等大反向,不会改变系统的总动量
A.它们做功一正一负,代数和必为零
B.它们做功一正一负,代数和必为负
C.它们做功不会改变系统的总动能
D.它们的冲量等大反向,不会改变系统的总动量
关于物体的动量,下列说法中正确的是( )
A.物体的动量越大,其惯性也越大
B.同一物体的动量越大,其速度一定越大
C.物体的加速度不变,其动量一定不变
D.运动物体在任一时刻的动量方向一定是该时刻的位移方向
0 60676 60684 60690 60694 60700 60702 60706 60712 60714 60720 60726 60730 60732 60736 60742 60744 60750 60754 60756 60760 60762 60766 60768 60770 60771 60772 60774 60775 60776 60778 60780 60784 60786 60790 60792 60796 60802 60804 60810 60814 60816 60820 60826 60832 60834 60840 60844 60846 60852 60856 60862 60870 176998
A.物体的动量越大,其惯性也越大
B.同一物体的动量越大,其速度一定越大
C.物体的加速度不变,其动量一定不变
D.运动物体在任一时刻的动量方向一定是该时刻的位移方向