如图所示,在不计滑轮摩擦和绳子质量的条件下,当小车匀速向左运动时,物体M的受力和运动情况是 ( )
A.绳的拉力等于M的重力
B.绳的拉力大于M的重力
C.物体M向上匀速运动
D.物体M向上匀加速运动
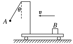
如图所示,带支架的平板小车沿水平面向左做直线运动,小球A用细线悬挂于支架前端,质量为m的物块B始终相对于小车静止地摆放在右端。B与小车平板间的动摩擦因数为μ。若某时刻观察到细线偏离竖直方向θ角,则此刻小车对物块B产生的作用力的大小和方向为( )
A.mg,竖直向上
B.mg,斜向左上方
C.mgtanθ,水平向右
D.mg,斜向右上方
铁路在弯道处的内外轨道高低是不同的,已知内外轨道水平面倾角为θ(图),弯道处的圆弧半径为R,若质量为m的火车转弯时速度小于,则( )
A.内轨对内侧车轮轮缘有挤压;
B.外轨对外侧车轮轮缘有挤压;
C.这时铁轨对火车的支持力等于mg/cosθ;
D.这时铁轨对火车的支持力大于mg/cosθ.
如图所示:一轴竖直的锥形漏斗,内壁光滑,内壁上有两个质量相同的小球A、B各自在不同的水平面内做匀速圆周运动,则下列关系正确的有( )
A、线速度
B、角速度
C、向心加速度
D、小球对漏斗的压力
如图所示,由两种材料做成的半球面固定在水平地面上,球右侧面是光滑的,左侧面粗糙,O点为球心,A、B是两个相同的小物块(可视为质点),物块A静止在左侧面上,物块B在图示水平力F作用下静止在右侧面上,A、B处在同一高度,AO、BO与竖直方向的夹角均为q,则A、B分别对球面的压力大小之比为( )
A.sin2q :1 B.sinq :1 C.cos2q :1 D.cosq :1
某人造卫星绕地球做匀速圆周运动,设地球半径为R,地面重力加速度为g。下列说法正确的( )
A.人造卫星的最小周期为
B.卫星在距地面高度R处的绕行速度为
C.卫星在距地面高度R处的加速度为
D.地球同步卫星的速率比近地卫星的速率小,所以发射同步卫星所需的能量较小
一条不可伸长的轻绳跨过质量可忽略不计的定滑轮,绳的一端系一质量M=15kg的重物,重物静止于地面上,有一质量m=10kg的猴从绳子另一端沿绳向上爬,如图所示,不计滑轮摩擦,在重物不离开地面条件下,(重力加速度g=10m/s2)猴子向上爬的最大加速度为
A. B. C. D.
假设地球是一半径为R,质量分布均匀的球体。已知质量分布均匀的球壳对壳内物体引力为零,地球表面处引力加速度为g。则关于地球引力加速度a随地球球心到某点距离r的变化图像正确的是( )
我国“二炮”的一系列导弹,在“北斗”定位系统的引导下,能实现精确打击移动目标和固定目标。假设从地面上A点发射一枚远程弹道导弹,仅在地球引力作用下,沿ACB椭圆轨道飞行击中地面目标B, C为轨道的远地点,距地面高度为h,若ACB轨迹长恰好为整个椭圆的一半。已知地球半径为R,地球质量为M,引力常量为G。则下列结论正确的是 ( )
A.导弹在C点的速度大于
B.地球的球心位于导弹椭圆轨道的一个焦点上
C.导弹在C点的加速度等于
D.导弹从A点到B点的飞行时间等于导弹飞行周期的一半
如图所示的皮带传动装置中,甲、乙、丙三轮的轴均为水平轴,其中甲、丙两轮半径相等,乙轮半径是丙轮半径的一半.A、B、C三点分别是甲、乙、丙三轮的边缘点,若传动中皮带不打滑,则
A.A、B两点的线速度大小之比为2:1
B.A,C两点的角速度大小之比为1:2
C.A、B两点向心加速度大小之比为2:1
D.A、C两点的向心加速度大小之比为1:4