在竖直向上的匀强磁场中,水平放置一个不变形的单匝金属圆线圈,线圈所围的面积为0.1m2,线圈电阻为1Ω.规定线圈中感应电流I 的正方向从上往下看是顺时针方向,如图(
1)所示.磁场磁感应强度B随时间t的变化规律如图(2)所示.则以下说法正确的是( )![]()
| A.在时间0~5s内,I的最大值为0.1A |
| B.在第4s时刻,I的方向为逆时针 |
| C.前2 s内,通过线圈某截面的总电量为0.01C |
| D.第3s内,线圈的发热功率最大 |
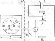
如图所示,边长为L、不可形变的正方形导线框内有半径为r的圆形磁场区域,其磁感应强度B随时间t的变化关系为B= kt(常量k>0)。回路中滑动变阻器R的最大阻值为R0,滑动片P位于滑动变阻器中央,定值电阻R1=R0、R2=
。闭合开关S,电压表的示数为U,不考虑虚线MN右侧导体的感应电动势,则![]()
| A.R2两端的电压为 |
| B.电容器的a极板带正电 |
| C.滑动变阻器R的热功率为电阻R2的5倍 |
| D.正方形导线框中的感应电动势为kL2 |
如图所示,平行金属导轨与水平面成θ角,导轨与固定电阻R1和R2相连,匀强磁场垂直穿过导轨平面.有一导体棒ab,质量为m,导体棒的电阻与固定电阻R1和R2的阻值均相等,与导轨之间的动摩擦因数为μ,导体棒ab沿导轨向上滑动,当上滑的速度为v时,受到安培力的大小为F.此时( )![]()
| A.电阻R1消耗的热功率为Fv/3 |
| B.电阻R2消耗的热功率为Fv/6 |
| C.整个装置因摩擦而消耗的热功率为μmgvcos θ |
| D.整个装置消耗的机械功率为(F+μmgcos θ)v |
如图所示,甲的线圈为50匝,它的两端点a、b与内阻很大的电压表相连,线圈中磁通量变化的规律如图乙所示.则a、b两点的电势高低与电压表的读数为 ( )![]()
| A.Ua>Ub,20 V | B.Ua>Ub,10 V |
| C.Ua<Ub,20 V | D.Ua<Ub,10 V |