条形磁铁放在光滑的水平面上,以条形磁铁的中央位置的正上方某点为圆心,水平固定一铜质圆环,不计空气阻力,以下判断中正确的是 ( )
| A.释放圆环,下落过程中环的机械能不守恒 |
| B.释放圆环,环下落时磁铁对桌面的压力比磁铁的重力大 |
| C.给磁铁水平向右的初速度,磁铁向右运动的过程中做减速运动 |
| D.给磁铁水平向右的初速度,圆环将受到向左的磁场力 |
电磁灶是采用电磁感应原理产生涡流加热的, 它利用变化的电流通过线圈产生变化的磁场,当变化的磁场通过含铁质锅的底部时,即会产生无数之小涡流,使锅体本身
自行高速升温,然后 再加热锅内食物。电磁炉工作时产生的电磁波,完全被线圈底部的屏蔽层和顶板上的含铁质锅所吸收,不会泄漏,对人体健康无危害。关于电磁灶,以下说法中正确的是( )
| A.电磁灶是利用变化的磁场产生涡流,使含铁质锅底迅速升温,进而对锅内食物加热的 |
| B.电磁灶是利用变化的磁场在食物中产生涡流对食物加热的 |
| C.电磁灶是利用变化的磁场使食物中的极性水分子振动和旋转来对食物加热的 |
| D.电磁灶跟电炉一样是让电流通过电阻丝产生热量来对食物加热的 |
一矩形线圈在匀强磁场中匀速转动产生感应电动势,下面说法正( )
| A.当穿过线圈的磁通量最大时,感应电动势最小 |
| B.当穿过线圈的磁通量最大时,感应电动势最大 |
| C.当穿过线圈的磁通量是零时,感应电动势最小 |
| D.当穿过线圈的磁通量是零时,感应电动势最大 |
如图甲所示,abcd是位于竖直平面内的正方形闭合金属线框,在金属线框的下方有一磁感应强度为B的匀强磁场区域,MN和M′N′是匀强磁场区域的水平边界,并在线框的bc边平行,磁场方向与线框平面垂直。现金属线框内距MN的某一高度从静止开始下落,图乙是金属线框由开始下落到完全穿过匀强磁场区域的v – t 图像。已知金属线框的质量为m,电阻为R,当地的重力加速度为g,图像中坐标轴上所标出的字线v1、v2、v3、t1、t2、t3、t4均为已知量。(下落过程中bc边始终水平)根据题中所给条件,以下说法正确的是 ( )![]()
| A.可以求出金属框的边长 |
| B.线框穿出磁场时间(t1—t3)等于进入磁场时间(t2—t1) |
| C.线框穿出磁场与进入磁场过程所受安培力方向相同 |
| D.线框穿出磁场与进入磁场过程产生的焦耳相等 |
如图所示,P、Q是两根竖直且足够长的金属杆,处在垂直纸面向里的匀强磁场B中,MN是一个螺线管,它的绕线方法没有画出,P、Q的输出端a、b和MN的输入端d、d之间用导线相连,A是在MN的正下方水平放置在地面上的金属圆环.现将金属棒ef 由静止释放,在下滑过 程中始终与P、Q棒良好接触且无摩擦.在金属棒释放后下列说法正确的是()![]()
| A.A环中有大小不变的感应电流 |
| B.A环中有越来越大的感应电流 |
| C.A环对地面的压力先减小后增大 |
| D.A环对地面的压力先增大后减小 |
如图,一个被x轴与曲线方程y=0.3sin
x(m)(x≤0.3 m)所围的空闻中存在着垂直纸面向里的匀强磁场,磁感应强度B=0.4T。单匝正方形绝缘金属线框的边长是L=(0.4 m,线框总电阻R=0.2
,,它的一边在光滑轨道的x轴上,在拉力F的作用下,线框以v="10" m/s的速度水平向右匀速运动。则( )![]()
| A.拉力F的最大值是0.72N |
| B.拉力F的最大功率是12.8W |
| C.拉力F要做0.216J功才能把线框拉过磁场区 |
| D.拉力F要做0.192J功才能把线框拉过磁场区 |
如图所示,电路中,L为一自感线圈,两支路电阻相等,则( ) ![]()
| A.闭合开关S时,稳定前电流表A1的示数小于电流表A2的示数 |
| B.闭合开关S时,稳定前电流表A1的示数等于电流表A2的示数 |
| C.闭合开关S时,稳定前电流表A1的示数大于电流表A2的示数 |
| D.断开开关S时,稳定前电流表A1的示数等于电流表A2的示数 |
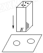
如图所示,光滑的水平桌面上放着两个完全相同的环形金属圈,原来均静止、且彼此绝缘。当一条形磁铁的N极由上向它们运动时,两线圈将( )![]()
| A.均静止不动; | B.彼此靠近; | C.相互远离; | D.都向上跳起。 |
下列说法正确的是 ( )
| A.感应电流的磁场总和回路中原磁场的方向相反; |
| B.感应电流的磁场总和回路中原磁场的方向相同; |
| C.由于感应电流的磁场总阻碍原磁通量变化,所以回路中磁通量不变; |
| D.感应电流的磁场可能与原磁场的方向相反也可能相同。 |