题目内容
在Rt△ABC中,∠C=90°,∠B=30°,斜边AB的长为2,则AC长为( )
A.4 B.2 C.1 D.
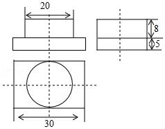
如图是某几何体的三视图,根据图中的数据,求得该几何体的体积为( )
A. B.160π+1700 C.3200π+1200 D.800π+300
如图,△ABC是一张周长为17 cm的三角形纸片,BC=5 cm,⊙O是它的内切圆,小明准备用剪刀在⊙O的右侧沿着与⊙O相切的任意一条直线MN剪下△AMN,则剪下的三角形的周长为( )
A. 12 cm
B. 7 cm
C. 6 cm
D. 随直线MN的变化而变化
如图,七星形中∠A+∠B+∠C+∠D+∠E+∠F+∠G= .
如图,点P,Q分别在∠AOB的两边OA,OB上,若点N到∠AOB的两边距离相等,且PN=NQ,则点N一定是( ).
A.∠AOB的平分线与PQ的交点
B.∠OPQ与∠OQP的角平分线的交点
C.∠AOB的平分线与线段PQ的垂直平分线的交点
D.线段PQ的垂直平分线与∠OPQ的平分线的交点
点P(1,-2)关于x轴对称的点的坐标是( ).
A. (1,2) B. (1,-2) C. (-1,2) D. (-1,-2)
某地区2013年投入教育经费2500万元,2015年投入教育经费3025万元.
(1)求2013年至2015年该地区投入教育经费的年平均增长率;
(2)根据(1)所得的年平均增长率,预计2016年该地区将投入教育经费多少万元.
下列图形中,不是轴对称图形的是( )
A. B. C. D.
如图,点O是△ABC外接圆的圆心,连接OB,若∠1=37°,则∠2的度数是( )
A. 52° B. 51° C. 53° D. 50°