13.(2006年河北省)如图5所示电路,开关S闭合后,电流表的示数 ( 填“变大”、“变小”或“不变”);若电流表示数变化了0.1A,则电阻R= Ω。(电源电压保持不变)
![]()
(2006年河北省课改)27.电冰箱给我们的生活带来很多方便,上表是某型号电冰箱的主要技术参数。请回答下列问题:
⑴电冰箱插头应用____________________(选填“二脚插头”或“三脚插头”);
⑵该电冰箱一个月(按30天计算)消耗的电能约为_________________________KM·h;
⑶电冰箱是利用致冷物质迅速________________________吸热,使冰箱内温度降低;
⑷活性炭具有___________________________________性,常用作冰箱中的除味剂。
|
总的有效容积 |
198L |
|
总输人功率 |
100W |
|
额定电压 |
220V |
|
冷冻能力 |
10kg/24h |
|
耗电量 |
0.6kw。h/24h |
|
频率 |
50Hz |
(2006年上海浦东)电能表是用于测量用户消耗电能的仪表,如图5所示,如果电能表的示数由图中值变为
,则这段时间该用户消耗的电能是________度,这些电能可供一盏标有“220V 40W”字样的白炽灯连续正常工作______小时。
![]()
26.(2006年石家庄市)暑期持续的“桑拿天”,居民家里的空调、电扇都闲不住,导致电路火灾时有发生,火警电话不断,消防车拉着警笛呼啸而出,赶往火灾现场,调查发现,起火原因如出一辙:电线超负荷使电线内的金属导线发热引燃了外面的绝缘皮.根据学过的物理知识回答:
(1)“超负荷”是指电路中的 过大(选填“电流”或“电阻”)。
(2)使火灾发生的理论依据是
(3)请你提出一条预防这种火灾发生应采取什么措施 。
|
(2) 电流越大,根据焦耳定律Q=I2Rt产生的热量就越多
(3)大功率的用电器交叉使用;根据用电器功率换较粗的输电线;做好电路的散热工作。
(2006年南通市课改区)18.一只电炉的电阻为48.4W,接在电压为220V的电路中工作,它的功率是_____W.电炉丝工作时热得发红,而连接电炉丝的导线却不怎么发热,其原因是______________________________________________。
(2006年济宁市课改区)在图1所示的甲、乙两种使用测电笔的方法中,正确的是__ 乙 _ 。
![]()
(2006年济宁市课改区)物业工作人员来李明家收电费,他观察到李明家电能表的情况如图3所示.然后从记录本上查出上月电能表的示数是811.6kWh.若按0.5元/kWh计费,李明家本月应缴电费__60__元。李明家同时使用的用电器总功率不得超过 1100 W。
![]()
(2006年重庆市课改区)BCD-195K型电冰箱铭牌上有“输入电压220V、耗电量0.7 kW·h/24h、输入总功率120W”等数据.其中“耗电量o.7kW·h/24h”这个数据的含义是:该冰箱正常使用24h消耗的电能为 .如果按照输人总功率120 W和工作24 h计算,则消耗的电能是 kW·h,这个计算结果与冰箱铭牌上提供的相关数据差异较大,这是由于冰箱具有 工作的特点而造成的.
(2006年南通市课改区)2006年3月1日,我国开始实施彩电能效新标准,规定待机功率高于9W的彩电不能进入市场销售.小明想了解家中彩电是否符合新能效标准,他将100W的灯泡单独接入电路中,观察电能表lmin转了5转:再让这台彩电单独接入电路并处于待机状态,电能表5min转了2转,由此判断该彩电的待机功率为_____W.若每天待机按20h计算,小明家每月(按30天计)因彩电待机消耗的电能约为__________kW·h.
(2006年盐城市)小明家的电能表如图所示,家中用电器的总功率不能超过 W.当小明家只有一盏电灯工作时,3min内转盘正好转过5圈,则该灯泡消耗的电能是 J,它的电功率为 W.
![]()
(2006年黄冈市)一个电热水壶,铭牌部分参数如下:额定电压220V,额定功率模糊不清,热效率为90%。正常工作情况下烧开满壶水需要5min,水吸收的热量为118800J,此时热水壶消耗的电能为_______J,其额定功率为_________w,电阻是_______Ω。若实际电压为198V,通过电热水壶的电流是_______A,1min内电热水壶产生的热量是________J。(假设电阻不随温度改变)
(2006年江西省)如图6所示是一个家庭电路中常用的五孔插座,其中A孔应接 线,B孔应接 线,C孔应接 线.
(2006年无锡市)今年3月,我国彩电能效标准正式实施。新颁布的彩电能效标准明确规定彩电待机功率不得超过9W,预计在该标准实施后的10年,全国可累计节电3.772×108kW·h。在使用彩电过程中,就如何降低彩电电能消耗,请你提出两条合理化建议。
(1) ;
(2) 。
(2006年无锡市)家庭电路的电压为 V。在家庭电路中,控制电灯的开关,一端与电灯相连,另一端应该接在 线上。
18.(2006年宿迁市)随着生活水平的提高,一些高科技成果已逐步走入人们的生活。如图是一种太阳能路灯,你能从它的相关说明中获得哪些信息(写出三条即可)?
|
太阳能路灯说明 RE-TZ13 1、太阳能电池:40W 2、发光光源:高效节能灯 3、系统电压:12V 4、连续阴雨:3~5天 5、环境温度:-20℃~ +70℃ 6、照明时间:12小时 |
![]()
① ;
② ;
③ ;
④该灯工作的实质,是将太阳能最终转化为 。
答案:①太阳能电池最大输出功率:40W ②使用灯泡为高效节能灯 ③电源电压是12V (连续阴雨时可工作3~5天; 环境温度在-20℃~ +70℃之间;连续照明时间为12小时) 说明:说出任意三条即可得3分
④光能(内能) 说明:光能、内能、光能和内能均正确
(2006年湖州市)张宇同学家有一台34英寸的彩电,在正常播放节目时的功率为500瓦特,而待机(没有切断电源)时的功率为5瓦特,平均每天有1/4时间在插放节目,另3/4时间处于待机状态。则该彩电平均每天消耗__▲__焦耳的电能,其中__▲__焦耳是可以通过切断电源的方法节省的。
15.2006年杭州市小周学过有关“机械效率”的知识后提出了一个问题:“斜面的机械效率与斜面的倾斜程度有没有关系?”针对这仑问题他做了在斜面上匀速拉动物块的探究实验,并记录实验数据如下:
|
实验次数 |
斜面的 倾斜程度 |
物体重 G/N |
物体上升高度 h/m |
沿斜面拉力 F/N |
物体移动距离 S/m |
有用功 W有/J |
总功 W总/J |
机械效率η |
|
1 |
较缓 |
5.0 |
0.10 |
1.6 |
0.50 |
0.50 |
0.80 |
63% |
|
2 |
较陡 |
5.0 |
0.15 |
2.2 |
0.50 |
0.75 |
1.1 |
68% |
|
3 |
最陡 |
5.0 |
0.25 |
3.1 |
0.50 |
|
|
|
⑴.根据表中数据,可求出第三次实验的有用功为______________焦,
总功为____________焦,机械效率是_________________;
⑵.通过对上述实验数据的分析,你认为斜面省力情况与斜面
倾斜程度的关系是:斜面越陡,越_________________;
⑶.通过对上述实验数据的分析,你对斜面机械效率的问题可获得的初步结论是:_________________。
湖北省宜昌如图5所示,在建筑工地上有一台塔式起重机,其部分技术参数如下表所示。
![]()
![]()
图5
(1)该起重机一次最多能吊起的建筑材料重力为多少N?吊起的建筑材料达到最大起重量时,建筑材料到塔的距离是最近还是最远?(g取10N/kg)
(2)该起重机将重为1×104N的建筑材料以最大提升速度吊起7m,起重机对建筑材料做了多少有用功?如果起重机的实际总功率为14kW,起重机的机械效率是多大?
广州市2006用如图7的滑轮组把货物拉上货仓,货物重500N,用350N的力F拉绳端使货物匀速
上升1m,此过程有用功为 J,总功为 J,滑轮组的机械效率为 .
![]()
广州市海珠区图13是小亮测定斜面机械效率的装置图。每次实验时,被拉的小车沿同一斜面匀速向上运动。下表是小亮设计的记录数据的表格.
(1)“较陡”时,做的有用功为_________;总功为_________;机械效率为_________;
(2)分析表格中的实验数据,你能得到哪些结论?(要求写两条)
a.______________________________________________________________________;
b.______________________________________________________________________.
重庆市2006如图4所示,用定滑轮和动滑轮分别将质量相同的甲、乙两物体匀速提升相同的高度, 不计绳重与摩擦,且动滑轮重G动小于乙物体的物重G,则所用的拉力F甲 F乙, 其机械效率η甲 η乙(两空均选填“>”、“<”或“:”).
![]()
2006年南通市如图所示,小明用滑轮组匀速提起一个重为600N的物体A,物体上升的速度为0.1m/s,人拉绳的力为250N,不计绳重和摩擦,人拉绳做功的功率为__________W,滑轮组的机械效率为_____,动滑轮重_____N.
二○○六年福州市如图7所示,拉力F将物体匀速提升1m,已知物体重21N,动滑轮重3N(不计摩擦及绳重),则F =____ N,
|
(8分)山西省太原市某城市高架桥工程建设,为兼顾城市发展和保护历史文化遗产,需将一栋古建筑平移.在移动过程中,施工人员先在古建筑四周深挖,把古建筑连同地基挖起.然后在地基下铺设平行轨道,如图11所示.再用四个推力均为8 ×5N的千斤顶同时推动古建筑沿轨道缓慢滑动50m,在新地点安放、固定、复原.若古建筑连同地基的总重量为1.5 × 107N,铺设轨道的地面能承受的最大压强为7.5×105Pa.问:
(1)为防止移动过程中轨道下陷,轨道对地面压力的作用面积至少是多大?
(2)在古建筑的整个平移过程中,四个千斤顶对古建筑做的功是多少?,
(3)若使用电动机通过滑轮组移动古建筑,已知电动机对滑轮组做功的功率为80kW,滑轮组的机械效率为80%,古建筑移动的速度是多大?
2006年潍坊市交流与评估是科学探究的一个重要环节。光明中学八·二班的同学,利用如图所示的实验装置完成了“测滑轮组机械效率”的实验以后,进行了小组交流,下表是各小组的实验数据记录:
|
实验小组 |
钩码重G(N) |
动滑轮G′(N) |
拉力F(N) |
滑轮组的机械效率η(%) |
|
1 |
0.5 |
0.4 |
0.35 |
47.6 |
|
2 |
0.5 |
0.4 |
0.38 |
43.9 |
|
3 |
1 |
0.6 |
0.62 |
53.8 |
|
4 |
1 |
0.8 |
0.71 |
46.9 |
|
5 |
2 |
0.6 |
0.98 |
68.0 |
|
6 |
2 |
0.8 |
1.06 |
62.9 |
请你对表中各小组的实验数据进行分析比较,回答下列问题:
(1)实验中影响滑轮组效率的主要因素是什么?
2006年潍坊市交流与评估是科学探究的一个重要环节。光明中学八·二班的同学,利用如图所示的实验装置完成了“测滑轮组机械效率”的实验以后,进行了小组交流,下表是各小组的实验数据记录:
|
实验小组 |
钩码重G(N) |
动滑轮G′(N) |
拉力F(N) |
滑轮组的机械效率η(%) |
|
1 |
0.5 |
0.4 |
0.35 |
47.6 |
|
2 |
0.5 |
0.4 |
0.38 |
43.9 |
|
3 |
1 |
0.6 |
0.62 |
53.8 |
|
4 |
1 |
0.8 |
0.71 |
46.9 |
|
5 |
2 |
0.6 |
0.98 |
68.0 |
|
6 |
2 |
0.8 |
1.06 |
62.9 |
请你对表中各小组的实验数据进行分析比较,回答下列问题:
(1)实验中影响滑轮组效率的主要因素是什么?
(2)1、2两个小组的动滑轮重相同,提起的钩码重也相同,测出的滑轮机械效率却不同,可能的原因是什么?
(3)请你就如何提高滑轮组的机械效率提出自己的建议。
(1)提起的物体的重和滑轮组的重
(2)滑轮和轮与轴间的摩擦力大小不同;测拉力时没有使测力计匀速上升,造成测量的力不准确。
(3)选用较轻的动滑轮组装滑轮组;对于给定的滑轮组,通过增大提起的物重提高效率;保持良好的润滑,减小轮与轴间的摩擦。
评分标准:共10分,(1)(2)各3分,(3)4分。
(2)1、2两个小组的动滑轮重相同,提起的钩码重也相同,测出的滑轮机械效率却不同,可能的原因是什么?
(3)请你就如何提高滑轮组的机械效率提出自己的建议。
(1)提起的物体的重和滑轮组的重
(2)滑轮和轮与轴间的摩擦力大小不同;测拉力时没有使测力计匀速上升,造成测量的力不准确。
(3)选用较轻的动滑轮组装滑轮组;对于给定的滑轮组,通过增大提起的物重提高效率;保持良好的润滑,减小轮与轴间的摩擦。
评分标准:共10分,(1)(2)各3分,(3)4分。
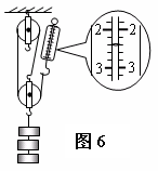
山东省莱芜市图6为测量滑轮组机械效率的实验装置,钩码总重6N。
(1)实验时要竖直向上 拉动弹簧测力计,由图可知拉力大小为 N,若钩码上升的高度为8cm,则弹簧测力计向上移动 cm,该滑轮组的机械效率为 。
(2)若仅增加钩码的个数,该滑轮组有机械效率将 。(选填:“增大”、“减小”或“不变”)