搜索
如图长方体有6个面,其中最大的一个面的面积是
平方厘米,这个长方体的体积是
立方厘米.
一个谷囤的形状如图,下面是圆柱形,底面周长是18.84米,高是2米;上面是圆锥形,高是1.5米.这个谷囤最多能装稻谷多少立方米?
一个圆柱被挖掉一个圆锥,圆锥高是圆柱高的
2
3
,底面半径为2厘米,圆柱高为6厘米,则剩余的体积是多少?(精确到0.01)
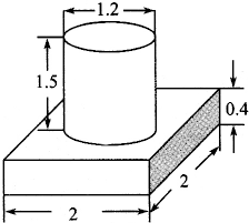
如图是某雕塑的底座,做这个底座至少需要混凝土多少立方米?(单位:米)
一个长方体货包,长50米、宽30米、高3米.它最多可容纳多少个8立方米的正方体货箱?
乐乐把橡皮泥猫改捏成一个长5厘米、宽3厘米、高1厘米的长方体,原来的猫体积是多少?
在一个长10分米,宽15分米的长方体容器中,有20分米深的水,现在在水中完全浸没一个棱长60厘米的正方体铁器,这时容器中的水深多少分米?
先量一下圆柱容器的底面直径,是4厘米,再放入适量的水,正好是6厘米高.把橡皮泥猫浸没,水面上升到7.25厘米.
挖一个长40米,宽25米,深2米的游泳池.
(1)要挖出多少立方米的土?
(2)沿着游泳池的周围走一圈,至少要走多少米?
(3)如果在游泳池的四壁和底面贴边长2分米的正方形瓷砖,需要多少块?
非零自然数a除以b,当( )时,所得的商一定大于数a.
A、b>1
B、b=1
C、0<b<1
0
58406
58414
58420
58424
58430
58432
58436
58442
58444
58450
58456
58460
58462
58466
58472
58474
58480
58484
58486
58490
58492
58496
58498
58500
58501
58502
58504
58505
58506
58508
58510
58514
58516
58520
58522
58526
58532
58534
58540
58544
58546
58550
58556
58562
58564
58570
58574
58576
58582
58586
58592
58600
199269
关 闭
试题分类
高中
数学
英语
物理
化学
生物
地理
初中
数学
英语
物理
化学
生物
地理
小学
数学
英语
其他
阅读理解答案
已回答习题
未回答习题
题目汇总
试卷汇总
练习册解析答案