如果在“电场中等势线的描绘”实验中,每相差0.1V就画一条等势线,那么这些等势线在空间的分布情况是
[ ]
A.以电极连线为中心的轴对称
B.以电极连线的中垂线为中心的轴对称
C.等势线之间的距离相等,间隔均匀
D.距电极越近等势线越密
在描绘等电势线的实验中,若将电源电压提高为原来的2倍,则以下说法正确的是
A.描绘得到的等势线形状与原来相同
B.描绘得到的等势线形状与原来不同
C.找基准点的等势点时每次移动的跨度应适当大些(与原来相比)
D.找基准点的等势点时每次移动的跨度应适当小些(与原来相比)
在用电流场模拟静电场描绘电场等势线的实验中,在下列所给出的器材中,应选用的是________(用器材前的字母表示):
A.6V的交流电源
B.6V的直流电源
C.100V的直流电源
D.量程0~0.5V,零刻度在刻度盘中央的电压表
E.量程0~300μA,零刻度在刻度盘中央的电流表
在实验过程中,要把复写纸、导电纸、白纸铺放在木板上,它们的顺序(自上而下)是①________,②________,③________.
在实验中,按下电键,接通电路,若一个探针与基准点O接触,另一探针已分别在基准点O的两侧找到了实验所需要的两点a、b(如图)所示,则当此探针与a点接触时,电表的指针应________(左偏、指零、右偏);当此探针与b点接触时,电表的指针应________(左偏、指零、右偏).
在做“用油膜法估测分子直径的大小”的实验中,实验简要步骤如下:
A.将画有油膜轮廓的玻璃板放在坐标纸上,数出轮廓内的方格数(不足半个的舍去,多于半个的算一个)再根据方格的边长求出油膜的面积S.
B.将一滴酒精油酸溶液滴在水面上,待油酸薄膜的形状移定后,将玻璃板放在浅盘上,用彩笔将薄膜的形状描画在玻璃板上.
C.用浅盘装入约2cm深的水,然后用痱子粉或石膏粉均匀的撒在水面.
D.用公式L=,求出薄膜厚度,即油酸分子的大小.
E.根据酒精油酸溶液的浓度,算出一滴溶液中纯油酸的体积V.
F.用注射器或滴管将事先配制好的酒精油酸溶液一滴一滴地滴入量筒,记下量筒内增加一定体积时的滴数.
上述实验步骤的合理顺序是________.
在做“用油膜法估测分子直径的大小”的实验中,准备有以下器材:用酒精稀释过的油酸、滴管、痱子粉、浅盘及水、玻璃板、彩笔.还缺少的器材有
用油膜法粗测分子直径实验的科学依据是
A.将油膜看成单分子油膜
B.不考虑各油分子间的间隙
C.考虑了各油分子间的间隙
D.将油膜分子看成球形
在做《用油膜法估测分子大小》的实验中,用油酸酒精的浓度为每104mL溶液中有纯油酸6mL,用注射器测得1mL上述溶液有75滴,把1滴该溶液滴入盛水的浅盘里,待水面稳定后,将玻璃板放在浅盘上,用笔在玻璃板上描出油膜的轮廓,再把玻璃板放在坐标纸上,其形状和尺寸如图所示,坐标中正方形方格的边长为1cm,试求:
(1)油酸膜的面积是多少cm2?
(2)每滴油酸酒精溶液中含有纯油酸的体积?
(3)按以上实验数据估测出油酸分子的直径.
利用单摆的周期公式测定重力加速度时,测出不同摆长l时相应的周期值T,并作出T2-l的关系图象,如图所示,已知图像上A、B两点的坐标分别为(x1,y1)和(x2,y2),则重力加速度g=________.
一位同学用单摆做测定重力加速度的实验,他将摆球挂起后,进行了如下步骤:
A.测摆长l:用米尺量出摆线的长度.
B.测周期T:将摆球拉起,然后放开,在摆球某次通过最低点时,按下秒表开始计时,同时将此次通过最低点作为第一次,接着一直数到摆球第60次通过最低点时,按秒表停止计时,读出这段时间t,计算出单摆的振动周期T=.
C.将所测得的L和T代入单摆的周期公式T=2π,算出g,将它作为实验最终结果写入报告中去.
指出上面步骤中遗漏或错误的地方,写出该步骤的字母,并加以改正.(不要求进行误差计算)
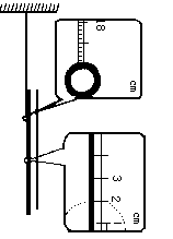
某同学做“用单摆测重力加速度”的实验时,手边只有一把长为20cm的学生用刻度尺,由于没有足够长的刻度尺因此无法测出单摆的摆长,所以这位同学采取了如下的实验方法:
如下图所示,先将单摆的摆长调为L1如图中实线所示,测出单摆50次全振动的时间并计算出此时单摆振动周期T1;再将单摆的摆长调为L2如图中虚线所示,测出单摆50次全振动的时间并计算出此时单摆振动周期T2;则由图可知,上述两次测量中,单摆的摆长变化量ΔL=________cm.由此实验测重力加速度的表达式为g=________(用ΔL、T1和T2表示).