如下图,两根靠近的平行直导线通入方向相同的电流时,它们相互间的作用力的方向如何?______________.
如下图所示,将一通电导线环(电流方向如下图所示)悬挂于一绝缘丝线下方并靠近一条形磁铁S极,条形磁铁受到的磁场力的方向为______.
只要导体两端存在______,导体中的自由电子就在_____力的作用下,从电势_____处向电势_____处定向移动.移动的方向与导体中电流的方向________.
试说出下列有关电场公式的适用范围
A.W=qU,____________
B.U=Ed,_____________
C.E=,____________
D.E=,____________
完成下列单位的换算:
3t=________kg;
72km/h=________m/s;
________;
2N/g=_______.
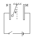
如下图所示,平行的金属板M、N与电源相连,一个带负电的小球悬挂在两板间,闭合电键后,悬线偏离了竖直方向的夹角为θ,若N板向M板靠近,θ角将________;把电键断开,再使N板向M靠近,θ角将________.
力的另一个单位是达因,是在厘米克秒制中定义的;使质量为1g的物体产生的加速度的力是1达因,问:1牛顿=________达因.
物理公式在确定了物理量的______关系的同时,也确定了物体量的________关系.
对一定质量的气体,若它的温度和体积都不变,则压强一定________(填“不变”或“变化”);若它的温度发生了变化,则它的压强或体积至少有________个量发生变化.
两个分子引力和斥力平衡的距离r0的数量级是________m,标准状况下的气体分子间距离约为________m,分子之间作用力为________.