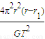
0  70222  70230  70236  70240  70246  70248  70252  70258  70260  70266  70272  70276  70278  70282  70288  70290  70296  70300  70302  70306  70308  70312  70314  70316  70317  70318  70320  70321  70322  70324  70326  70330  70332  70336  70338  70342  70348  70350  70356  70360  70362  70366  70372  70378  70380  70386  70390  70392  70398  70402  70408  70416  176998 

违法和不良信息举报电话:027-86699610 举报邮箱:58377363@163.com

精英家教网