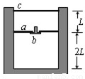
某同学在做研究弹力和弹簧伸长的关系的实验中,设计了如 图所示的实验装置.所用的钩码每只的质量都是30g,他先测出不挂钩码时弹簧的自然长度,再将5个钩码逐个挂在弹簧的下端,每次都测出相应的弹簧总长度,将数据填在了下面的表中.(弹力始终未超过弹性限度):
(1)试根据这些实验数据计算弹力的大小填入表格内,并在下图给定的坐标纸上作出弹簧所受弹力大小F跟弹簧总长L之间的关系图线
(2)写出弹簧弹力与弹簧长度之间的关系式
(3)说明图线跟坐标轴交点的物理意义.
(1)试根据这些实验数据计算弹力的大小填入表格内,并在下图给定的坐标纸上作出弹簧所受弹力大小F跟弹簧总长L之间的关系图线
(2)写出弹簧弹力与弹簧长度之间的关系式
(3)说明图线跟坐标轴交点的物理意义.
| 钩码质量(g) | 30 | 60 | 90 | 120 | 150 | |
| 弹簧总长(cm) | 6.00 | 7.15 | 8.34 | 9.48 | 10.64 | 11.79 |
| 弹力大小(N) |
学习了法拉第电磁感应定律E∝
后,为了定量验证感应电动势E与时间△t成反比,某小组同学设计了如图所示的一个实验装置:线圈和光电门传感器固定在水平光滑轨道上,强磁铁和挡光片固定在运动的小车上.每当小车在轨道上运动经过光电门时,光电门会记录下挡光片的挡光时间△t,同时触发接在线圈两端的电压传感器记录下在这段时间内线圈中产生的感应电动势E.利用小车末端的弹簧将小车以不同的速度从轨道的最右端弹出,就能得到一系列的感应电动势E和挡光时间△t.

在一次实验中得到的数据如下表:
(1)观察和分析该实验装置可看出,在实验中,每次测量的△t时间内,磁铁相对线圈运动的距离都______(选填“相同”或“不同”),从而实现了控制______不变;
(2)在得到上述表格中的数据之后,为了验证E与△t成反比,他们想出两种办法处理数据:第一种是计算法:算出______,若该数据基本相等,则验证了E与△t成反比;第二种是作图法:在直角坐标系中作_______关系图线,若图线是基本过坐标原点的倾斜直线,则也可验证E与△t成反比.
0 69748 69756 69762 69766 69772 69774 69778 69784 69786 69792 69798 69802 69804 69808 69814 69816 69822 69826 69828 69832 69834 69838 69840 69842 69843 69844 69846 69847 69848 69850 69852 69856 69858 69862 69864 69868 69874 69876 69882 69886 69888 69892 69898 69904 69906 69912 69916 69918 69924 69928 69934 69942 176998
在一次实验中得到的数据如下表:
| 次数 测量值 | 1 | 2 | 3 | 4 | 5 | 6 | 7 | 8 |
| E/V | 0.116 | 0.136 | 0.170 | 0.191 | 0.215 | 0.277 | 0.292 | 0.329 |
| △t/×10-3s | 8.206 | 7.486 | 6.286 | 5.614 | 5.340 | 4.462 | 3.980 | 3.646 |
(2)在得到上述表格中的数据之后,为了验证E与△t成反比,他们想出两种办法处理数据:第一种是计算法:算出______,若该数据基本相等,则验证了E与△t成反比;第二种是作图法:在直角坐标系中作_______关系图线,若图线是基本过坐标原点的倾斜直线,则也可验证E与△t成反比.