在探究影响单摆周期的因素的实验中
(1)同学甲有如下操作,请判断是否恰当(填“是”或“否”).
①把单摆从平衡位置拉开约5°释放;______
②在摆球经过最低点时启动秒表计时;______
③把秒表记录摆球一次全振动的时间作为周期.______
该同学改进测量方法后,得到的部分测量数据见表.根据表中数据可以初步判断单摆周期随______的增大而增大.
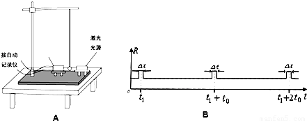
(2)同学乙实验时,为了将人工记录振动次数改为自动记录振动次数,设计如图A所示的装置,若摆球在垂直纸面的平面内摆动,在摆球运动最低点的左、右两侧分别放置一激光光源与光敏电阻与某一自动记录仪相连,该仪器显示的光敏电阻阻值R随时间t变化图线如图B所示,则该单摆的振动周期为______.若保持悬点到小球顶点的绳长不变,改用直径是原小球直径一半的另一小球进行实验,则该单摆的周期将______(填“变大”、“不变”或“变小”).

(1)同学甲有如下操作,请判断是否恰当(填“是”或“否”).
①把单摆从平衡位置拉开约5°释放;______
②在摆球经过最低点时启动秒表计时;______
③把秒表记录摆球一次全振动的时间作为周期.______
该同学改进测量方法后,得到的部分测量数据见表.根据表中数据可以初步判断单摆周期随______的增大而增大.
| 数据组 | 摆长 | 摆球 | 周期 |
| 编号 | /mm | 质量/g | /s |
| 1 | 999.3 | 32.2 | 2.0 |
| 2 | 999.3 | 16.5 | 2.0 |
| 3 | 799.2 | 32.2 | 1.8 |
| 4 | 799.2 | 16.5 | 1.8 |
| 5 | 501.1 | 32.2 | 1.4 |
如图所示,在动摩擦因素μ=0.2的水平面AB上,水平恒力F推动质量为m=1kg的物体从A点由静止开始作匀加速直线运动,物体到达B点时撤去F,接着又冲上光滑斜面(设经过B点前后速度大小不变),最高能到达C点.用传感器测量物体的瞬时速度,并在表格中记录了部分测量数据.求:
(1)恒力F的大小;
(2)斜面的倾角α;
(3)若在A处撤去推力F,给物体一个水平向左的初速度v,恰能使物体运动到C点,求此初速度v的大小.
0 69710 69718 69724 69728 69734 69736 69740 69746 69748 69754 69760 69764 69766 69770 69776 69778 69784 69788 69790 69794 69796 69800 69802 69804 69805 69806 69808 69809 69810 69812 69814 69818 69820 69824 69826 69830 69836 69838 69844 69848 69850 69854 69860 69866 69868 69874 69878 69880 69886 69890 69896 69904 176998
| t/s | 0.0 | 0.2 | 0.4 | … | 2.2 | 2.4 | 2.6 | … |
| v/m?s-1 | 0.0 | 0.4 | 0.8 | … | 3.0 | 2.0 | 1.0 | … |
(2)斜面的倾角α;
(3)若在A处撤去推力F,给物体一个水平向左的初速度v,恰能使物体运动到C点,求此初速度v的大小.