(1)图(b)为某次实验得到的纸带,根据纸带可求出小车的加速度大小为______m/s2.(保留二位有效数字)
(2)保持砂和砂桶质量不变,改变小车质量m,分别得到小车加速度a与质量m及对应的1/m,数据如下表:
| 实验次数 | 1 | 2 | 3 | 4 | 5 | 6 | 7 | 8 |
| 小车加速度a/m?s-2 | 1.90 | 1.72 | 1.49 | 1.25 | 1.00 | 0.75 | 0.50 | 0.30 |
| 小车质量m/kg | 0.25 | 0.29 | 0.33 | 0.40 | 0.50 | 0.71 | 1.00 | 1.67 |
| 4.00 | 3.45 | 3.03 | 2.50 | 2.00 | 1.41 | 1.00 | 0.60 |
(3)有一位同学通过实验测量作出了图(c)中的A图线,另一位同学实验测出了如图(c)中的B图线.试分析
①A图线不通过坐标原点的原因是______;
②A图线上部弯曲的原因是______;
③B图线在纵轴上有截距的原因是______.
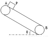
如图所示,倾角θ=37°的传送带上,上、下两端相距S=7m.当传送带以u=4m/s的恒定速率顺时针转动时,将一个与传送带间动摩擦因数μ=0.25的物块P轻放于A端,P从A端运动到B端所需的时间是多少?
0 67183 67191 67197 67201 67207 67209 67213 67219 67221 67227 67233 67237 67239 67243 67249 67251 67257 67261 67263 67267 67269 67273 67275 67277 67278 67279 67281 67282 67283 67285 67287 67291 67293 67297 67299 67303 67309 67311 67317 67321 67323 67327 67333 67339 67341 67347 67351 67353 67359 67363 67369 67377 176998