表格中所列数据是测量小灯泡 U-I关系的实验数据:
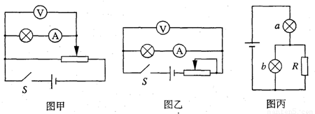
(1)分析上表内实验数据可知,应选用的实验电路图是图______(填“甲”或“乙”);

(2)在方格纸内画出小灯泡的U-I曲线.分析曲线可知小灯泡的电阻随I变大而______(填“变大”、“变小”或“不 变”);
(3)如图丙所示,用一个定值电阻R和两个上述小灯泡组成串并联电路,连接到内阻不计、电动势为3V的电源上.已知流过电阻R的电流是流过灯泡b电流的两倍,则流过灯泡b的电流约为______A.
0 64507 64515 64521 64525 64531 64533 64537 64543 64545 64551 64557 64561 64563 64567 64573 64575 64581 64585 64587 64591 64593 64597 64599 64601 64602 64603 64605 64606 64607 64609 64611 64615 64617 64621 64623 64627 64633 64635 64641 64645 64647 64651 64657 64663 64665 64671 64675 64677 64683 64687 64693 64701 176998
| U(V) | 0.0 | 0.2 | 0.5 | 1.0 | 1.5 | 2.0 | 2.5 | 3.0 |
| I(A) | 0.000 | 0.050 | 0.100 | 0.150 | 0.180 | 0.195 | 0.205 | 0.215 |
(2)在方格纸内画出小灯泡的U-I曲线.分析曲线可知小灯泡的电阻随I变大而______(填“变大”、“变小”或“不 变”);
(3)如图丙所示,用一个定值电阻R和两个上述小灯泡组成串并联电路,连接到内阻不计、电动势为3V的电源上.已知流过电阻R的电流是流过灯泡b电流的两倍,则流过灯泡b的电流约为______A.