搜索
在装修工程中,用与竖直方向成β角的力F使质量为m的物体静止在斜板的某位置上,如图所示,斜板与水平方向成α角,那么这个物体受到
个力而平衡,斜板对它的压力大小为
.
如图所示,质量位m、电阻为R、边长为L的等边三角形ACD电阻线,在A处用细线悬挂于O点,垂直于ACD施加一个垂直纸面向里的匀强磁场.当磁感应强度按规律B=Kt(K为常数)增强并且正好增大为B
时,CD边安培力是
,细线上的拉力为
.
如图所示,气缸内封闭有一定质量的理想气体,当时温度为0℃,大气压为1atm(设其值为10
5
Pa)、气缸横截面积为500cm
2
,活塞重为5000N.则:
(1)气缸内气体压强为多少?
(2)如果开始时内部被封闭气体的总体积为
,汽缸上部体积为
,并且汽缸口有个卡环可以卡住活塞,使之只能在汽缸内运动,所有摩擦不计.现在使气缸内的气体加热至273℃,求气缸内气体压强又为多少?
土星周围有许多大小不等的岩石颗粒,其绕土星的运动可视为圆周运动.其中有两个岩石颗粒A和B与土星中心距离分别为r
A
=8.0×10
4
km和r
B
=1.2×10
5
km.忽略所有岩石颗粒间的相互作用.
(1)求岩石颗粒A和B的线速度之比.
(2)求岩石颗粒A和B的周期之比.
某同学的解答为:因为岩石颗粒在做圆周运动,可知线速度v=ωr.所以
,然后根据圆周运动中周期和线速度的关系式求出周期之比.你同意上述解答吗?若同意请列出主要运算步骤求出结果;若不同意,则说明原因,并求出正确结果.
如图所示,小木块在沿斜面向上的恒定外力F作用下,从A点由静止开始作匀加速运动,前进了0.45m抵达B点时,立即撤去外力.此后小木块又前进0.15m到达C点,速度为零.已知木块与斜面动摩擦因数μ=
/6,木块质量m=1kg.求:
(1)木块向上经过B点时速度为多大?
(2)木块在AB段所受的外力多大?( g=10m/s
2
)
如图所示,P、Q为水平面内平行放置的光滑金属长直导轨,间距为0.5m,处在竖直向下、磁感应强度大小B
1
=0.5T的匀强磁场中.导体杆ef垂直于P、Q放在导轨上,在外力作用下向左做匀速直线运动.质量为0.1kg的正方形金属框abcd置于竖直平面内,其边长为0.1m,每边电阻均为0.1Ω.线框的两顶点a、b通过细导线与导轨相连.磁感应强度大小B
2
=1T的匀强磁场垂直金属框abcd向里,金属框恰好处于静止状态.不计其余电阻和细导线对a、b点的作用力,g=10m/s
2
,求:
(1)通过ab边的电流I
ab
是多大?
(2)导体杆ef的运动速度v是多大?
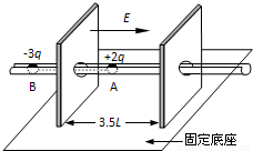
如图所示,沿水平方向放置一条平直光滑槽,它垂直穿过开有小孔的两平行薄板,板相距3.5L.槽内有两个质量均为m的小球A和B,球A带电量为+2q,球B带电量为-3q,两球由长为2L的轻杆相连,组成一带电系统.最初A和B分别静止于左板的两侧,离板的距离均为L.若视小球为质点,不计轻杆的质量,在两板间加上与槽平行向右的匀强电场E后(设槽和轻杆由特殊绝缘材料制成,不影响电场的分布),求:
(1)球B刚进入电场时,带电系统的速度大小.
(2)带电系统从开始运动到速度第一次为零时球A相对右板的位置.
(3)带电系统从开始运动到速度第一次为零所需的时间.
2007年10月24日我国自主研制的“嫦娥一号”月球探测卫星发射升空.“嫦娥一号”在绕月工作轨道的运动可视为匀速圆周运动,轨道半径为R(约等于月球半径).此前曾有宇航员在月球上做自由落体实验,将某物体由距月球表面高h处释放,经时间t后落到月球表面,据上述信息可推出“嫦娥一号”绕月运行的速率约为
.假设地球、月球都静止不动,卫星在近地轨道变轨后,靠惯性飞向月球,若卫星变轨时的动能小于卫星飞到月球过程中需要克服地球引力做的功,则探测卫星
(选填“可能”或“不可能”)到达月球.
如图所示,某人从高出水平地面h的坡上水平击出一个质量为m的高尔夫球.由于恒定的水平风力的作用,高尔夫球竖直地落入距击球点水平距离为L的A穴.则该球从被击出到落入A穴所花的时间为
,球被击出时的初速度大小为
.
如图所示,某人乘雪橇从雪坡经A点滑至B点,接着沿水平路面滑至C点停止.人与雪橇的总质量为70kg.表中记录了沿坡滑下过程中的有关数据,请根据图表中的数据解决下列问题:
(1)人与雪橇从A到B的过程中,损失的机械能为多少?
(2)设人与雪橇在BC段所受阻力恒定,求阻力大小(g=10m/s
2
)
位置
A
B
C
速度(m/s)
2.0
12.0
时刻(s)
4
10
0
61878
61886
61892
61896
61902
61904
61908
61914
61916
61922
61928
61932
61934
61938
61944
61946
61952
61956
61958
61962
61964
61968
61970
61972
61973
61974
61976
61977
61978
61980
61982
61986
61988
61992
61994
61998
62004
62006
62012
62016
62018
62022
62028
62034
62036
62042
62046
62048
62054
62058
62064
62072
176998
关 闭
试题分类
高中
数学
英语
物理
化学
生物
地理
初中
数学
英语
物理
化学
生物
地理
小学
数学
英语
其他
阅读理解答案
已回答习题
未回答习题
题目汇总
试卷汇总
练习册解析答案