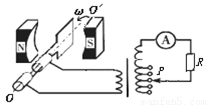
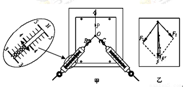
0  59875  59883  59889  59893  59899  59901  59905  59911  59913  59919  59925  59929  59931  59935  59941  59943  59949  59953  59955  59959  59961  59965  59967  59969  59970  59971  59973  59974  59975  59977  59979  59983  59985  59989  59991  59995  60001  60003  60009  60013  60015  60019  60025  60031  60033  60039  60043  60045  60051  60055  60061  60069  176998 

违法和不良信息举报电话:027-86699610 举报邮箱:58377363@163.com

精英家教网