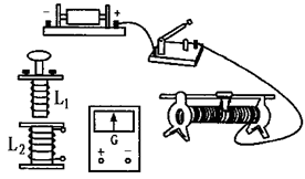
如图所示器材可用来研究电磁感应现象及判定感应电流方向。
(1)在给出的实物中,用笔线代表导线将图中所缺的导线补接完整,组成实验电路。![]()
(2)在实验中,当电键闭合瞬时,观察到电流表指针向右偏转。电键闭合一段时间后,为使电流表指针向左偏转,可采取的方法有( )(多选)
| A.迅速断开电源 |
| B.将滑动触头向右端滑动 |
| C.将一软铁棒插入线圈L1中 |
| D.将线圈L1迅速从线圈L2中提出 |
为测量某未知电阻Rx的阻值,实验室仅提供以下器材:
| A.待测电阻Rx(阻值约40~50Ω) | B.电流表(量程10mA,内电阻约50Ω) |
| C.电阻箱R(最大值999.9Ω) | D.直流电源E(电动势约3V,内电阻约0.5Ω) |
(1)将实验器材连接成实验电路,但未完成全部连线如图所示,请根据实物图在虚线框内画出原理图,并用笔画线代替导线,连接成完整的实验电路。(要求尽量减小实验误差,标明给定器材的符号)
(2)按电路图连接成正确的实物图后,该同学先将电阻箱R的阻值调到最大,将开关S掷a端,调节电阻箱R,使电流表的示数为I,此时电阻箱示数为R1;然后将开关S掷向b端, .则待测电阻Rx= (完成必要步骤及用测量物理量的字母表示Rx,要求操作简单方便)
用如右图所示的电路测定某电源的内阻r和一段电阻线单位长度的电阻Ro,ab是一段粗细均匀的电阻线.R是阻值为2Ω的保护电阻,电源电动势为9 V,内阻未知。电流传感器的内阻不计,示数用I表示,滑动片P与电阻线有良好接触,aP的长度用Ix表示,其他连接导线的电阻不计。实验时,闭合电键S,调节P的位置,将Ix和与之对应的/记录在下表。![]()
(1)根据表中提供的数据,若利用图像确定电源的内阻和电阻线单位长度的电阻,则应作______图像。
| A. | B. |
| C. | D. |
(3) 由(2)所作的图像可知:该电源的内阻r为_____Ω;该电阻线单位长度的电阻R0为______Ω/m。(结果保留两位小数)