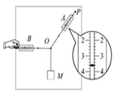
(8分)某同学用如图所示的实验装置来验证“力的平行四边形定则”。弹簧测力计A挂于固定点P,下端用细线挂一重物M。弹簧测力计B的一端用细线系于O点,手持另一端向左拉,使结点O静止在某位置。分别读出弹簧测力计A和B的示数,并在贴于竖直木板的白 记录O点的位置和拉线的方向。![]()
(1)本实验用的弹簧测力计示数的单位为N,图中A的示数为_______N。
(2)下列不必要的实验要求是_________。(请填写选项前对应的字母)
| A.应测量重物M所受的重力 |
| B.弹簧测力计应在使用前校零 |
| C.拉线方向应与木板平面平行 |
| D.改变拉力,进行多次实验,每次都要使O点静止在同一位置 |
Ⅰ、如图所示是用自由落体法验证机械能守恒定律时得到的一条纸带,我们选N点来验证机械能守恒定律.下面举出一些计算打N点时纸带下落速度的方法,其中正确的是(T为打点周期)( )![]()
| A.vN= | B.vN= |
| C.vN2略小于2gdn | D.vN2略大于2gdn |
①让小车自斜面上方一固定点A1从静止开始下滑到斜面底端A2,记下所用的时间t。
②用米尺测量A1与A2之间的距离s,则小车的加速度a= 。
③用米尺测量A1相对于A2的高度h。设小车所受重力为mg,则小车所受的合外力F= 。
④改变 ,重复上述测量。
⑤以h为横坐标,1/t2为纵坐标,根据实验数据作图。
如能得到一条过原点的直线,则可验证“当质量一
定时,物体运动的加速度与它所受的合外力成正
比”这一规律。
某实验小组在利用单摆测定当地重力加速度的实验中:![]()
(1)用摆长L和周期T计算重力加速度的公式是g= ,如果测定了40次全振动的时间为如图中停表所示,则停表读数是 。
(2)小组成员在实验过程中,有如下做法,其中正确的是 。
| A.用夹子把单摆摆线的上端固定在铁架台上 |
| B.把单摆从平衡位置拉开一定角度,并在释放摆球的同时开始计时 |
| C.测量摆球通过最低点n次的时间t,则单摆周期为 |
| D.用悬线长度加摆球直径作为摆长,计算得到的重力加速度值偏大 |
(6分)某同学在做“利用单摆测重力加速度”的实验中,先测得摆线长为101.00cm,摆球直径为2.00cm,然后用秒表记录了单摆振动50次所用的时间为101.5s。则:
(1)他测得的重力加速度g= m/s2。(计算结果取三位有效数字)
(2)他测得的g值偏小,可能原因是( )
| A.测摆线长时摆线拉得过紧。 |
| B.摆线上端未牢固地系于悬点,振动中出现松动,使摆线长度增加了 |
| C.开始计时,秒表时迟按下。 |
| D.实验中误将49将全振动计为50次。 |