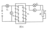
如图所示的电路中,有一个理想变压器,原线圈匝数为n1,串联一只小灯泡L1,再并联一只电压表V1后接在稳定的交流电源上;副线圈匝数为n2,串联灯泡 L2和变阻器R,L2上并联电压表V2.现在向下移动滑动变阻器R的滑动触头P下列判断正确的是 ( )![]()
| A.V1读数将变大,V2读数将变小 |
| B.V1读数不变,V2读数增大 |
| C.灯泡L1和L2上消耗的功率都变小 |
| D.灯泡L1及L2上电流强度Il、I2与变压器原副 |
一理想变压器的副线圈为200匝,输出电压为10V,则铁芯内的磁通量变化率的最大值为( )
| A.0.07Wb/s | B.5Wb/s |
| C.7.05Wb/s | D.14.1Wb/s |
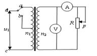
如图所示,理想变压器原副线圈的匝数之比为n1︰n2=5︰1,则下列判断正确的是![]()
| A.电流表A1与电流表A2的示数之比为5︰1 |
| B.电压表V1与电压表V2的示数之比为5︰1 |
| C.当滑动片P向下滑动时,电流表A1、A2的示数均增大 |
| D.当滑动片P向上滑动时,电压表V1、V2的示数均增大 |
如图是一种理想自耦变压器示意图,线圈绕在一个圆环形的铁芯上,P是可移动的滑动触头。AB间接交流电压U,输出端接入两个相同的灯泡L1和L2,Q为滑动变阻器的滑动触头。当开关S闭合,P处于如图所示的位置时,两灯均能
发光。下列说法正确的是![]()
| A.P不动,将Q向右移动,变压器的输入功率变大 |
| B.Q不动,将P沿逆时针方向移动,变压器的输入功率变大 |
| C.P不动,将Q向左移动,两灯均变暗 |
| D.P、Q都不动,断开开关S,L1将变暗 |
图中理想变压器原、副线圈匝数之比nl∶n2=4∶ l,原线圈两端连接光滑导轨,副线圈与电阻R相连成闭合回路.当直导线AB在匀强磁场中沿导轨匀速地向右做切割磁感线运动时,电流表Al的读数是12mA,那么电流表A2的读数是 ( )![]()
| A.0 | B.3mA | C.48mA | D.与R值大小无关 |
如图所示,理想变压器原、副线圈的匝数比为10:1,b是原线圈的中心抽头,电压表和电流表均为理想电表,从某时刻开始在原线圈c、d两端加上交变电压,其瞬时值表达式为u1=311sin100πt(V),则![]()
| A.当单刀双掷开关与b连接时,电压表的示数为22V |
| B.当t=1/600s时,c、d间的电压瞬时值为110V |
| C.单刀双掷开关与a连接,在滑动变阻器触头P向下移动的过程中,电流表的示数变大, 变压器输入功率增大 |
| D.当单刀双掷开关由a扳向b时,电压表示数变小,变压器输入电流减小 |
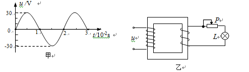
有一理想变压器的原、副线圈的匝数比为10:1,原线圈输入电压的变化规律如图甲所示,副线圈所接电路如图乙所示,P为滑动变阻器的触头。下列说法正确的是( )![]()
![]()
| A.副线圈输出电压的有效值为3V |
| B.副线圈输出电压的频率为50Hz |
| C.P向右移动时,原、副线圈的电流比变小 |
| D.P向右移动时,灯泡L变亮 |
如图所示,L1、L2是高压输电线,图中两电表示数分别是220V和10A,已知甲图中原、副线圈匝数比为 100:1,乙图中原副线圈匝数比为1:10,则 ( )![]()
| A.甲图中的电表是电压表,输电电压为22000 V |
| B.甲图是电流互感器.输电电流是100 A |
| C.乙图中的电表是电压表,输电电压为22000 V |
| D.乙图是电流互感器,输电电流是100 A |
如图,电路中有四个完全相同的灯泡,额定电压均为U 。变压器为理想变压器,现在四个灯泡都正常发光,则关于变压器的匝数比n1:n2和电源电压U1,下列说法正确的是( ) ![]()
| A.1:2 2U | B.1:2 4U |
| C.2:1 4U | D.2:1 2U |