如图所示,先后以速度v1和v2把一矩形线圈匀速拉出有界的匀强磁场区域,若v2=2v1,则在先后两种情况下,下列说法正确的是![]()
| A.线圈中的感应电流之比I1:I2=2:1 |
| B.线圈中产生的焦耳热之比Q1:Q2=1:4 |
| C.作用在线圈上的外力大小之比F1:F2=1:2 |
| D.通过线圈某截面的电荷量之比q1:q2=1:2 |
一轻质横杆两侧各固定一轻质铝环,横杆能绕中心点自由转动,左环是断开的,右环是闭合的。现用一条形磁铁插向其中一个小环,能观察到的现象是![]()
| A.磁铁插向右环,横杆发生转动 |
| B.磁铁插向左环,横杆发生转动 |
| C.无论磁铁插向左环还是右环,横杆都不发生转动 |
| D.无论磁铁插向左环还是右环,横杆都发生转动 |
边长为
的正方形金属框在水平恒力作用下,穿过如图2所示的有界匀强磁场,磁场宽度为
,已知
边进入磁场时,线框刚好做匀速运动,则线框进入磁场过程和从磁场另一侧穿出过程相比较,说法正确的是:( )![]()
| A.产生的感应电流方向相同 |
| B.所受安培力方向相反 |
| C.线框穿出磁场产生的电能和进入磁场产生的电能相等 |
| D.线框穿出磁场产生的电能一定比进入磁场产生的电能多 |
在光滑的水平地面上方,有两个磁感应强度大小均为B,方向相反的水平匀强磁场,如图所示,PQ为两个磁场的边界,磁场范围足够大.一个半径为d,质量为m,电阻为R的金属圆环垂直磁场方向,以速度v从如图位置运动,当圆环运动到直径刚好与边界线PQ重合时,圆环的速度为v/2,则下列说法正确的是( )![]()
| A.此时圆环的加速度为 |
| B.此时圆环中的电功率为 |
| C.此过程中回路产生的电能为0.75mv2 |
| D.此过程圆环中通过圆环截面的电量为 |
如图,虚线范围内为两个磁感应强度大小相同,方向相反的匀强磁场区域.一闭合线框以恒定速度从图示位置匀速向右运动(所有尺寸见图),则线圈中感应电流随时间变化的关系图正确的是(取顺时针方向的电流为正)( )![]()
![]()
如图所示,水平光滑的平行金属导轨,左端与电阻R相连接,匀强磁场B竖直向下分布在导轨所在的空间内,质量一定的金属棒在垂直导轨的方向上搁在导轨上.今使棒以一定的初速度向右运动,到位置c时棒刚好静止.设导轨与棒的电阻均不计,a、b与b、c的间距相等,则金属棒在由a→b和由b→c的两个过程中( )![]()
| A.棒运动的加速度相等 |
| B.通过棒横截面的电量相等 |
| C.棒运动的速度变化量相同 |
| D.回路中产生的热量相等 |
如图所示,水平放置的两光滑导轨MN、PQ位于竖直向上的匀强磁场中,导轨电阻不计,质量和电阻阻值完全相同的两根金属棒a和b静止地横放在水平导轨上.现将一水平向右的恒力F作用在棒a上,使两金属棒运动起来,则下列说法中正确的是( )![]()
| A.棒a先做加速度减小的加速运动,而棒b先做加速度增大的加速运动,最终两者一起匀速向前运动 |
| B.棒a先做加速度减小的加速运动,而棒b先做加速度增大的加速运动,最终两者以相同的加速度向前加速运动 |
| C.两棒最终以相同的速度运动,且回路的电流不为零 |
| D.两棒最终以相同的加速度共同运动,此后力F所做的功等于两棒动能的增加 |
如图所示,平行于纸面有一匀强电场(电场未画出),在纸面内建了一个直角坐标系xOy,以O为圆心,做半径r=2 cm的圆.如果在圆上任取一点P,设OP与x轴正方向的夹角为θ,P点的电势与θ角函数关系满足φP="[8cos(θ-30°)+10]" V.则下列说法正确的是( )
| A.当θ=90°时,P点的电势为10 V |
| B.当θ=330°时,P点的电势与当θ=90°时P点的电势相等 |
| C.该电场强度的方向与x轴负方向成60°角斜向下 |
| D.该圆周上的电势最低点是θ=30°时的P点 |
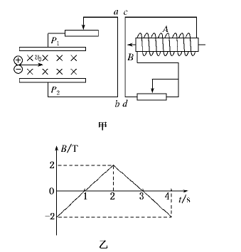
等离子气流由左方连续以v0射入P1和P2两板间的匀强磁场中,ab直导线与P1、P2相连接,线圈A与直导线cd连接.线圈A内有随图乙所示的变化磁场.且磁场B的正方向规定为向左,如图甲所示,则下列叙述正确的是( )![]()
| A.0~1 s内ab、cd导线互相排斥 |
| B.1~2 s内ab、cd导线互相吸引 |
| C.2~3 s内ab、cd导线互相吸引 |
| D.3~4 s内ab、cd导线互相排斥 |