如图所示,通有稳恒电流的长直螺线管竖直放置,铜环R沿螺线管的轴线加速下落.在下落过程中,环面始终保持水平.铜环先后经过轴线上1、2、3位置时的加速度分别为a1、a2、a3.位置2处于螺线管的中心,位置1、3与位置2等距离.设重力加速度为g,则:( )![]()
| A.a1<a2=g | B.a3<a1<g |
| C.a1=a3<a2 | D.a3<a1<a2 |
(2011·江苏物理·T2)如图所示,固定的水平长直导线中通有电流
,矩形线框与导线在同一竖直平面内,且一边与导线平行。线框由静止释放,在下落过程中![]()
| A.穿过线框的磁通量保持不变 |
| B.线框中感应电流方向保持不变 |
| C.线框所受安培力的合力为零 |
| D.线框的机械能不断增大 |
如右图所示,金属棒ab置于水平放置的金属导体框架cdef上,棒ab与框架接触良好.从某一时刻开始,给这个空间施加一个斜向上的匀强磁场,并且磁场均匀增加,ab棒仍静止,在磁场均匀增加的过程中,关于ab棒受到的摩擦力,下列说法正确的是( )![]()
| A.摩擦力大小不变,方向向右 |
| B.摩擦力变大,方向向右 |
| C.摩擦力变大,方向向左 |
| D.摩擦力变小,方向向左 |
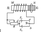
一长直铁芯上绕有一固定线圈M,铁芯右端与一木质圆柱密接,木质圆柱上套有一闭合金属环N,N可在木质圆柱上无摩擦移动.M连接在如右图所示的电路中,其中R为滑动变阻器,E1和E2为直流电源,S为单刀双掷开关.下列情况中,可观测到N向左运动的是( )![]()
| A.在S断开的情况下,S向a闭合的瞬间 |
| B.在S断开的情况下,S向b闭合的瞬间 |
| C.在S已向a闭合的情况下,将R的滑动头向c端移动时 |
| D.在S已向a闭合的情况下,将R的滑动头向d端移动时 |
(2011·皖南八校联考)如右图所示,一半圆形铝框处在水平向外的非匀强磁场中,场中各点的磁感应强度为By=
,y为该点到地面的距离,c为常数,B0为一定值.铝框平面与磁场垂直,直径ab水平,(空气阻力不计)铝框由静止释放下落的过程中( )![]()
| A.铝框回路磁通量不变,感应电动势为0 |
| B.回路中感应电流沿顺时针方向,直径ab两点间电势差为0 |
| C.铝框下落的加速度大小一定小于重力加速度g |
| D.直径ab受安培力向上,半圆弧ab受安培力向下,铝框下落加速度大小可能等于g |
如图所示,水平放置的两条光滑轨道上有可自由移动的金属棒PQ、MN,当PQ在外力作用下运动时, MN在磁场力作用下向右运动,则PQ所做的运动可能是( )![]()
| A.向右加速运动 | B.向左加速运动 |
| C.向右减速运动 | D.向左减速运动 |
(2011·杭州模拟)如图所示,一根长导线弯成如图abcd的形状,在导线框中通以直流电,在框的正中间用绝缘的橡皮筋悬挂一个金属环P,环与导线框处于同一竖直平面内,当电流I增大时,下列说法中正确的是( )![]()
| A.金属环P中产生顺时针方向的电流 |
| B.橡皮筋的长度增大 |
| C.橡皮筋的长度不变 |
| D.橡皮筋的长度减小 |
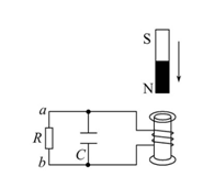
电阻R、电容器C与一线圈连成闭合回路,条形磁铁静止于线圈的正上方,N极朝下,如图所示,现使磁铁开始下落,在N极接近线圈上端的过程中,流过R的电流方向和电容器极板的带电情况是( )![]()
| A.从a到b,上极板带正电 |
| B.从a到b,下极板带正电 |
| C.从b到a,上极板带正电 |
| D.从b到a,下极板带正电 |
(2011·福州模拟)如图所示,绝缘水平面上有两个离得很近的导体环a、b.将条形磁铁沿它们的正中向下移动(不到达该平面),a、b将如何移动( )![]()
| A.a、b将相互远离 |
| B.a、b将相互靠近 |
| C.a、b将不动 |
| D.无法判断 |
(2011·江门模拟)如图是某电磁冲击钻的原理图,若突然发现钻头M向右运动,则可能是( )![]()
| A.开关S闭合瞬间 |
| B.开关S由闭合到断开的瞬间 |
| C.开关S已经是闭合的,变阻器滑片P向左迅速滑动 |
| D.开关S已经是闭合的,变阻器滑片P向右迅速滑动 |