关于平抛运动,下列说法中正确的是
| A.平抛运动是匀速运动 |
| B.平抛运动是匀变速曲线运动 |
| C.平抛运动不是匀变速运动 |
| D.作平抛运动的物体落地时速度方向一定是竖直向下的 |
如图所示,在网球的网前截击练习中,若练习者在球网正上方距地面H处,将球以速度v沿垂直球网的方向击出,球刚好落在底线上,已知底线到网的距离为L,重力加速度取g,将球的运动视作平抛运动,下列表述正确的是![]()
| A.球的速度v等于L |
| B.球从击出至落地所用时间为 |
| C.球从击球点至落地点的位移等于L |
| D.球从击球点至落地点的位移与球的质量有关 |
在地面上方某一高处,以初速v0水平抛出一石子,当它的速度由水平方向变化到与水平方向成θ角时,石子的水平位移的大小是( ) (不计空气的阻力)
| A.v02 sinθ/g | B.v02 cosθ/g | C.v02 tanθ/g | D.v02 cotθ/g |
如图所示,斜面与水平面之间的夹角为45°,在斜面底端A点正上方高度为6m处的O点,以v= 1m/s的速度水平抛出一个小球,飞行一段时间后撞在斜面上,取g=10m/s2,这段飞行所用的时间为 ( )![]()
| A.0.1s |
| B.1s |
| C.1.2s |
| D.1.6s |
某同学在做研究平抛运动的实验中,忘记记下小球做平抛运动的起点位置。A为运动一段时间后的位置,根据图中所示数据,求物体的平抛初速度大小为( )(g取10m/s2)![]()
| A.1.0m/s | B.l0m/s | C.2. 0m/s | D.20m/s |
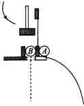
如图所示的实验研究平抛运动时,用小锤去打击弹性金属片,A球水平飞出,同时B球被松开做自由落体运动,两球同时落到地面,这个实验( )![]()
| A.只能说明平抛运动的物体在水平方向做匀速直线运动 |
| B.只能说明平抛运动的物体在竖直方向做自由落体运动 |
| C.能同时说明以上两项 |
| D.不能说明上述规律中的任何一条 |
猎人手举猎枪水平瞄准对面山崖上的一只野猪,当野猪失足跌落山崖瞬间,子弹由枪口射出,则( )
| A.子弹不一定能击中野猪 | B.子弹将在野猪上方穿过 |
| C.子弹一定不能击中野猪 | D.子弹一定能击中野猪 |