如图所示,在不计滑轮摩擦和绳子质量的条件下,当小车匀速向右运动时,物体A的受力情况是:[ ]![]()
| A.绳的拉力大于A的重力 |
| B.绳的拉力等于A的重力 |
| C.绳的拉力小于A的重力 |
| D.绳的拉力先大于A的重力,后小于A的重力 |
关于运动的合成,下列说法中正确的是
| A.合运动的速度一定比分运动的速度大 |
| B.只要两个分运动是直线的,那么合运动一定是直线运动 |
| C.两个匀速直线运动的合运动一定是直线运动 |
| D.不在一条直线上的匀速直线运动和匀加速直线运动的合运动一定是曲线运动 |
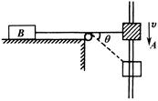
如图所示,物体A以速度v沿杆匀速下滑,A用细绳通过定滑轮拉物体B, 当绳与水平夹角为
时,B的速度为( )![]()
| A.vcos | B.vsin | C.v/cos | D.v/sin |
关于运动的合成和分解,下述说法中正确的是 ( )
| A.合运动的速度大小等于分运动的速度大小之和 |
| B.物体的两个分运动若是直线运动,则它的合运动一定是直线运动 |
| C.合运动和分运动具有同时性 |
| D.若合运动是曲线运动,则其分运动中至少有一个是曲线运动 |
如图所示,红蜡块能在玻璃管的水中匀速上升,若红蜡块在A点匀速上升的同时,使玻璃管水平向右做直线运动,则红蜡块实际运动的轨迹是图中的( )![]()
| A.若玻璃管做匀速运动,则为直线P |
| B.若玻璃管做匀加速运动,则为曲线R |
| C.若玻璃管做匀加速运动,则为曲线Q |
| D.不论玻璃管做何种运动,轨迹都是直线P |
如图所示,红蜡块能在玻璃管内的水中匀加速上升,若红蜡块在从A点匀加速上升的同时,玻璃管水平向右做匀速直线运动,则红蜡块实际运动的轨迹是图中的 ( ) ![]()
| A.直线P | B.曲线Q | C.曲线R | D.无法确定 |
关于运动的合成和分解,说法正确的是( )
| A.合运动的方向就是物体实际运动的方向 |
| B.由两个分速度的大小就可以确定合速度的大小 |
| C.两个分运动是直线运动,则它们的合运动不一定是直线运动 |
| D.合运动与分运动具有等时性 |
如图所示,红蜡块可以在竖直玻璃管内的水中匀速上升,速度为v,若在红蜡块从A点开始匀速上升的同时,玻璃管从AB位置由静止开始水平向右做匀加速直线运动,加速度大小为a,则红蜡块的实际运动轨迹可能是图中的( )![]()
| A.直线P | B.曲线Q | C.曲线R | D.无法确定 |