如图,一端封闭的玻璃管中注满清水,水中放一个蜡做成的小圆柱体R,R的直径略小于玻璃管的内径,由于蜡的密度小于水的密度,故能在水中加速上升.若在R上升的同时将玻璃管水平向右匀速移动,则R的轨迹将是图中的( )![]()
| A.A | B.B |
| C.C | D.A或C |
关于运动的合成和分解,下述说法中正确的是 ( )
| A.合运动的速度大小等于分运动的速度大小之和 |
| B.物体的两个分运动若是直线运动,则它的合运动一定是直线运动 |
| C.合运动和分运动具有同时性 |
| D.若合运动是曲线运动,则其分运动中至少有一个是曲线运动 |
一质点在某段时间内做曲线运动,则在这段时间内 ( )
| A.速度一定在不断地改变,加速度也一定在不断地改变 |
| B.速度 一定不断地改变,但加速度可能不变 |
| C.速度可能不变,但加速度一定不断改变 |
| D.速度可能不变,加速度也可能不变 |
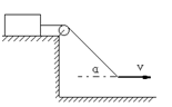
如图所示,套在竖直细杆上的环A由跨过定滑轮的不可伸长的轻绳与重物B相连。由于B的质量较大,故在释放B后,A将沿杆上升,当A环上升至与定滑轮的连线处水平位置时,其上升速度v1≠0,若这时B的速度为v2,则 ( )![]()
| A.v2=0 | B.v2>v1 |
| C.v2≠0 | D.v2=v1 |
在河面上方20 m的岸上有人用长绳栓住一条小船,开始时绳与水面的夹角为30°。人以恒定的速率v=3 m/s拉绳,使小船靠岸,那么![]()
| A.5s时绳与水面的夹角为60° |
| B.5s内小船前进了15 m |
| C.5s时小船的速率为4 m/s |
| D.5s时小船距离岸边15 m |