如图所示,红蜡块能在玻璃管的水中匀速上升,若红蜡块在从A点匀速上升的同时,使玻璃管水平向右做匀加速直线运动,则红蜡块实际运动的轨迹是图中的( )![]()
| A.直线P | B.曲线Q |
| C.曲线R | D.无法确定以 |
运动员掷链球时,链球在运动员的牵引下做曲线运动,一旦运动员放手,链球即刻飞出。放手的时刻不同,链球飞出的方向不同,这说明( )
| A.做曲线运动的物体,不同时刻的加速度具有不同的大小 |
| B.做曲线运动的物体,不同时刻的加速度具有不同的方向 |
| C.做曲线运动的物体,不同时刻的速度具有不同的大小 |
| D.做曲线运动的物体,不同时刻的速度具有不同的方向 |
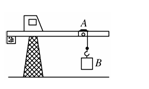
如图所示的塔吊臂上有一可以沿水平方向运动的小车A,小车下装有吊着物体B的吊钩,在小车A与物体B以相同的水平速度沿吊臂方向匀速运动的同时,吊钩将物体B向上吊起,A、B之间的距离以d=H-
(式中H为吊臂离地面的高度)规律变化,则物体做 ( ) ![]()
| A.速度大小不变的曲线运动 |
| B.速度大小增加的曲线运动 |
| C.加速度大小、方向均不变的曲线运动 |
| D.加速度大小、方向均变化的曲线运动 |
民族运动会上有一骑射项目如图7所示,运动员骑在奔跑的马上,弯弓放箭射击侧向的固定目标.假设运动员骑马奔驰的速度为v1,运动员静止时射出的弓箭速度为v2,跑道离固定目标的最近距离为d.要想命中目标且射出的箭在空中飞行时间最短,则 ( )![]()
| A.运动员放箭处离目标的距离为 |
| B.运动员放箭处离目标的距离为 |
| C.箭射到固定目标的最短时间为 |
| D.箭射到固定目标的最短时间为 |
质量为2 kg的质点在x-y平面上做曲线运动,在x方向的速度图象和y方向的位移图象如图所示,下列说法正确的是 ( )![]()
| A.质点的初速度为5 m/s |
| B.质点所受的合外力为3 N |
| C.质点初速度的方向与合外力方向垂直 |
| D.2 s末质点速度大小为6 m/s |
质量为m的物体,在F1、F2、F3三个共点力的作用下做匀速直线运动,保持F1、F2不变,仅将F3的方向改变90°(大小不变)后,物体可能做 ( )
| A.加速度大小为 |
| B.加速度大小为 |
| C.加速度大小为 |
| D.匀速直线运动 |
如图所示,用一根长杆和两个定滑轮的组合装置来提升重物M,长杆的一端放在地上通过铰链联结形成转轴,其端点恰好处于左侧滑轮正下方O点处,在杆的中点C处拴一细绳,绕过两个滑轮后挂上重物M.C点与O点距离为l.现在杆的另一端用力.使其逆时针匀速转动,由竖直位置以角速度ω缓缓转至水平位置(转过了90°角),此过程中下述说法中正确的是 ( )![]()
| A.重物M做匀速直线运动 |
| B.重物M做匀变速直线运动 |
| C.重物M的最大速度是ωl |
| D.重物M的速度先减小后增大 |
A、B两物体通过一根跨过定滑轮的轻绳相连放在水平面上,现物体A以v1的速度向右匀速运动,当绳被拉成与水平面夹角分别是α、β时,如图2所示.物体B的运动速度vB为(绳始终有拉力 ( )![]()
| A.v1sinα/sinβ | B.v1cosα/sinβ |
| C.v1sinα/cosβ | D.v1cosα/cosβ |
如图所示,蜡块在竖直玻璃管内的水中匀速上升,速度为v,若在蜡块从A点开始匀速上升的同时,玻璃管从AB位置由静止开始水平向右做匀加速直线运动,加速度大小为a,则蜡块的实际运动轨迹可能是图中的:![]()
| A.直线P | B.曲线Q |
| C.曲线R | D.无法确定[来源:学#科#网] |