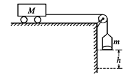
如图所示,把小车放在光滑的水平桌面上,用轻绳跨过定滑轮使之与盛有沙子的小桶相连,已知小车的质量为M,小桶与沙子的总质量为m,把小车从静止状态释放后,在小桶下落竖直高度为h的过程中,若不计滑轮及空气的阻力,下列说法中正确的是![]()
| A.绳拉车的力始终为mg |
| B.当M远远大于m时,才可以认为绳拉车的力为mg |
| C.小车获得的动能为mgh |
| D.小车获得的动能为 Mmgh/(M+m) |
如图所示,一物体从高为H的斜面顶端由静止开始滑下,滑上与该斜面相连的一光滑曲面后又返回斜面,在斜面上能上升到的最大高度为
H。若不考虑物体经过斜面底端转折处的能量损失,则当物体再一次滑回斜面时上升的最大高度为
| A.0 | B. | C. | D.0与 |
如图6所示,DO是水平面,AB是斜面。初速度为
的物体从D点出发洞DBA滑动到顶点A时速度刚好为零。如果斜面改为AC,让该物体从D点出发沿DCA滑动到A点且速度刚好为零,则物体具有的初速度(已知物体与路面之间的动摩擦因数处处相同且不为零( )![]()
| A.大于 | B.等于 |
| C.小于 | D.取决于斜面的倾角 |
如图所示,小球从A点以初速度v0沿粗糙斜面向上运动,到达最高点B后返回A,C为AB的中点。下列说法中正确的是( )![]()
| A.小球从A出发到返回A的过程中,位移为零,外力做功为零 |
| B.小球从A到C过程与从C到B过程,减少的动能相等 |
| C.小球从A到C过程与从C到B过程,速度的变化量相等 |
| D.小球从A到C过程与从C到B过程,损失的机械能相等 |
质量为m的小球用长度为L的轻绳系住,在竖直平面内做圆周运动,运动过程中小球受空气阻力作用,已知小球经过最低点时轻绳受的拉力为7mg,经过半周小球恰好能通过最高点,则此过程中小球克服空气阻力做的功为( )
| A.mgL/4 | B.mgL/3? | C.mgL/2 | D.mgL |
如图所示,在水平桌面上的A点有一个质量为m的物体,以初速度v0被抛出,不计空气阻力,当它到达B点时,其动能为( )![]()
| A.mv02+mgH | B.mv02+mgh1 |
| C.mgH-mgh2 | D.mv02+mgh2 |
如图(甲)所示,质量不计的弹簧竖直固定在水平面上,t=0时刻,将一金属小球从弹簧正上方某一高度处由静止释放,小球落到弹簧上压缩弹簧到最低点,然后又被弹起离开弹簧,上升到一定高度后再下落,如此反复。通过安装在弹簧下端的压力传感器,测出这一过程弹簧弹力F随时间t变化的图像如图(乙)所示,则![]()
| A. |
| B. |
| C. |
| D. |
关于物体的动能,下列说法正确的是( )
| A.质量大的物体,动能一定大 |
| B.速度大的物体,动能一定大 |
| C.速度方向变化,动能一定变化 |
| D.物体的质量不变,速度变为原来的两倍,动能将变为原来的四倍 |