如图,竖直轻质悬线上端固定,下端与均质硬棒AB中点连接,棒长为线长二倍。棒的A端用铰链固定在墙上,棒处于水平状态。改变悬线长度,使线与棒的连接点逐渐右移,并保持棒仍处于水平状态。则悬线拉力 ( )![]()
| A.逐渐减小 | B.逐渐增大 |
| C.先减小后增大 | D.先增大后减小 |
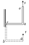
如图所示,abc为质量均匀的直角等边曲杆,曲杆可绕c端的光滑铰链,在竖直平面内转动。若施加在a端的力F始终竖直向上,在曲杆顺时针缓慢转动900(从实线转到虚线)的过程中,力F的力矩M大小的变化情况是 ![]()
| A.一直M减小 | B.M一直增大 |
| C.M先减小后增大 | D.M先增大后减小 |
如图所示,重为G的圆盘与一轻杆相连,杆与圆盘恰相切,支点为O。现用始终竖直向下的力F拉杆的另一端,使该端缓慢向下转动,则杆转到竖直之前,拉力F及其力矩M的变化情况是( )![]()
| A.M变小,F不变. | B.M、F均变小. |
| C.M先变大再变小,F始终变大. | D.M、F均先变大再变小 |
如图所示,重为G的均匀棒,可绕上端O在竖直平面内转动。今在棒的下端用水平力F拉,使棒缓慢转动,直至转到水平方向为止,则拉力F和它的力矩M的变化情况:
| A.都增大 | B.都减小 |
| C.F增大,M减小 | D.F减小,M增大 |
如图所示,AB为一轻质杠杆,O为支点,BO=2AO,AB两端分别悬挂实心铜球和实心铁球,杠杆在水平位置平衡,若将两球同时浸没在某液体中,液体的密度小于铜和铁的密度,则![]()
| A.杠杆仍能保持平衡 | B.铜球一端下降 |
| C.铁球一端下降 | D.液体密度未知,故无法判断哪端下降 |