如图所示,小球放在小车中的斜面A和竖直挡板B之间,所有接触面均光滑。起始小车向左匀速运动,某一时刻改为向左匀减速运动,整个过程中小球与小车处于相对静止状态。关于前后两个状态下斜面对小球的弹力的大小
和挡板对小球的弹力的大小
的变化,以下说法正确的是( )![]()
| A. | B. |
| C. | D. |
如图所示,放在水平桌面上的木块A处于静止状态,所挂的砝码和托盘的总质量为0.6 kg,弹簧测力计读数为2 N,滑轮摩擦不计.若轻轻取走盘中的部分砝码,使总质量减少到0.3 kg时,将会出现的情况是(g=10 m/s2) ![]()
| A.弹簧测力计的读数将变小 |
| B.A仍静止不动 |
| C.A对桌面的摩擦力不变 |
| D.A所受的合力将要变大 |
如图所示,a、b两物体质量均为m,物体b在水平推力F的作用下将物体a挤压在光滑的竖直墙面上,a、b两物体均处于静止状态.则(重力加速度为g)![]()
| A.物体a受到的摩擦力大小随F大小而变化 |
| B.物体a受到的摩擦力大小为mg |
| C.物体b对地面的压力大小为mg |
| D.物体b对地面的压力大小为2mg |
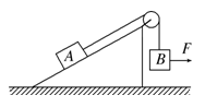
如图所示,斜面体A静止放置在水平地面上,质量为m的物体B在外力F(方向水平向右)的作用下沿斜面向下做匀速运动,此时斜面体仍保持静止.则下列说法中正确的是 ( )
| A.若撤去力F,物体B将沿斜面向下加速运动 |
| B.若撤去力F,A所受地面的摩擦力方向向左 |
| C.若撤去力F,A所受地面的摩擦力可能为零 |
| D.若撤去力F,A所受地面的摩擦力方向可能向右 |
如图所示,小球用细线拴住放在光滑斜面上,用力推斜面向左运动,小球缓慢升高直到细线平行斜面的过程中,细线的拉力将:( )![]()
| A.先增大后减小 |
| B.先减小后增大 |
| C.一直增大 |
| D.一直减小 |