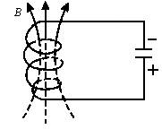
题目内容
如图所示,对于该LC回路所处的时刻,电容器正在________(填“充电”或“放电”),________能正转变为________能.
![]()
答案:充电,磁场,电场
提示:
提示:
考查基本LC电路的工作过程
|
练习册系列答案
相关题目
题目内容
如图所示,对于该LC回路所处的时刻,电容器正在________(填“充电”或“放电”),________能正转变为________能.
![]()
考查基本LC电路的工作过程
|