题目内容

简述动圈式振动速度传感器的工作原理。

 

【答案】

见解析

【解析】

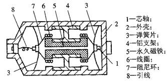
试题分析:图是动圈式振动速度传感器的结构示意图。其结构主要特点是,钢制圆形外壳,里面用铝支架将圆柱形永久磁铁与外壳固定成一体,永久磁铁中间有一个小孔,穿过小孔的芯轴两端架起线圈和阻尼环,芯轴两端通过圆形膜片支撑架空且与外壳相连。工作时,传感器与被测物体刚性连接,当物体振动时,传感器外壳和永久磁铁随之振动,而架空的芯轴、线圈和阻尼环因惯性而不随之振动。因而,磁路空隙中的线圈切割磁力线而产生的正比于振动速度的感应电动势,线圈的输出通过引线输出到测量电路。

考点:本题考查了动圈式振动速度传感器的工作原理

点评:动圈式传感器是目前振动测量中常月J的一种传感器,与压电传感器比较,其优点是输出阻抗低,输出信号正比于振动速度的电信号,只要经过适当的积分和微分电路,就能方便地得到振动的振幅值和加速度值

 

练习册系列答案
相关题目

违法和不良信息举报电话:027-86699610 举报邮箱:58377363@163.com

精英家教网