题目内容
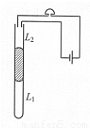
如图所示,这个装置可以作为火灾报警器使用;试管中装入水银,当温度升高时,水银柱上升,使电路导通,蜂鸣器发出响声.27℃时,空气柱长度L1为20cm,水银上表面与导线下端的距离L2为10cm,管内水银柱的高度h为5cm,大气压强为75cmHg,则(1)当温度达到多少摄氏度时,报警器会报警?
(2)若再往玻璃管内注入2cm长的汞柱,则该装置的报警温度为多少摄氏度?
【答案】分析:封闭的气体做等压变化,分别找出气体初末状态的状态参量,应用理想气体状态方程便可求解出报警温度.
解答:
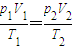
解:(1)封闭的气体做等压变化,设玻璃管横截面积为s,由理想气体状态方程:
得:

T2=450K
所以:t2=450-273=177℃
(2)再往玻璃管内注入2cm长的汞柱后,压强变为:p2=82cmHg
由理想气体状态方程:
得:

解得:T2=430.5K
所以:t2=430.5173=157.5℃
答:(1)当温度达到177摄氏度时,报警器会报警
(2)若再往玻璃管内注入2cm长的汞柱,则该装置的报警温度为157.5摄氏度
点评:气体状态变化可以应用理想气体状态方程求解,本题的关键是找出气体的变化是等压变化.
解答:
T2=450K
所以:t2=450-273=177℃
(2)再往玻璃管内注入2cm长的汞柱后,压强变为:p2=82cmHg
由理想气体状态方程:
解得:T2=430.5K
所以:t2=430.5173=157.5℃
答:(1)当温度达到177摄氏度时,报警器会报警
(2)若再往玻璃管内注入2cm长的汞柱,则该装置的报警温度为157.5摄氏度
点评:气体状态变化可以应用理想气体状态方程求解,本题的关键是找出气体的变化是等压变化.
练习册系列答案
相关题目
某实验小组设计了如图所示的实验装置探究加速度与力、质量的关系。开始时闭合电键,电磁铁将A、B两个小车吸住,断开电键,两个小车同时在细绳拉力作用下在水平桌面上沿同一直线相向运动。实验中始终保持小车质量远大于托盘和砝码的质量,实验装置中各部分摩擦阻力可忽略不计。
①该小组同学认为,只要测出小车A和B由静止释放到第一次碰撞通过的位移s1、s2,即可得知小车A和B的加速度a1、a2与位移s1、s2的关系。这个关系式可写成( )。
②实验时,该小组同学先保持两小车质量相同且不变,改变左、右托盘内的砝码重力,测量并记录对应拉力下小车A和B通过的位移s1和s2。经过多组数据分析得出了小车运动的加速度与所受拉力的关系。然后他们保持两小车所受的拉力相同且不变,研究小车的加速度与小车质量的关系,此时要改变实验变量是( ),必须测量并记录的物理量是( )(要求对表示物理量的字母做出说明),这些测出并记录的物理量之间的关系式可写成( )。
|
②实验时,该小组同学先保持两小车质量相同且不变,改变左、右托盘内的砝码重力,测量并记录对应拉力下小车A和B通过的位移s1和s2。经过多组数据分析得出了小车运动的加速度与所受拉力的关系。然后他们保持两小车所受的拉力相同且不变,研究小车的加速度与小车质量的关系,此时要改变实验变量是( ),必须测量并记录的物理量是( )(要求对表示物理量的字母做出说明),这些测出并记录的物理量之间的关系式可写成( )。