ÌâÄ¿ÄÚÈÝ
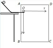
ͼ1ÊÇÑо¿Æ½Å×Ô˶¯µÄʵÑé×°ÖÃʾÒâͼ£¬Ð¡Çò´ÓÐ±ÃæÉÏÒ»¶¨¸ß¶È´¦´Ó¾²Ö¹ÊÍ·Å£¬¾¹ýÒ»¶Îˮƽ¹ìµÀºóÂäÏ£¬ÀûÓøÃ×°ÖÿÉÒԼǼСÇòÇòÐĵÄÔ˶¯¹ì¼£
£¨1£©ÇëÔÚͼ¼×Öеİ×Ö½ABCDÉϱê³öСÇòƽÅ×Ô˶¯µÄÆðʼµão£¬²¢»³öox¡¢oyÖᣮ
£¨2£©ÔÚʵÑé²Ù×÷ÖÐÐèҪСÇò¶à´ÎÖØ¸´Ô˶¯£¬Ôòÿ´ÎСÇò
£¨3£©Í¼2ÊÇʵÑéºóÔÚ°×Ö½ÉÏÃè³öµÄ¹ì¼£ºÍËù²âµÄÊý¾Ý£º¸ù¾ÝͼÒÒÖÐÊý¾Ý£¬¿ÉÒÔ¼ÆËã³öСÇòƽÅ×Ô˶¯µÄ³õËÙ¶Èv0=
£¨1£©ÇëÔÚͼ¼×Öеİ×Ö½ABCDÉϱê³öСÇòƽÅ×Ô˶¯µÄÆðʼµão£¬²¢»³öox¡¢oyÖᣮ
£¨2£©ÔÚʵÑé²Ù×÷ÖÐÐèҪСÇò¶à´ÎÖØ¸´Ô˶¯£¬Ôòÿ´ÎСÇò
±ØÐë
±ØÐë
´ÓͬһλÖÃÓɾ²Ö¹¿ªÊ¼Ô˶¯£¨Ñ¡Ìî¡°±ØÐ롱¡¢¡°²»Ò»¶¨¡±£©£®£¨3£©Í¼2ÊÇʵÑéºóÔÚ°×Ö½ÉÏÃè³öµÄ¹ì¼£ºÍËù²âµÄÊý¾Ý£º¸ù¾ÝͼÒÒÖÐÊý¾Ý£¬¿ÉÒÔ¼ÆËã³öСÇòƽÅ×Ô˶¯µÄ³õËÙ¶Èv0=
1.6
1.6
m/s£®·ÖÎö£º£¨1£©Ð¡ÇòƽÅ׵įðµãÓ¦¸ÃÊÇÇòÐÄÔÚľ°åÉϵÄˮƽͶӰµã£¬ÒÔˮƽ·½ÏòΪxÖᣬÊúÖ±·½ÏòΪyÖá¼´¿É×÷ͼ£®
£¨2£©ÔÚʵÑéÖÐÈÃСÇòÄÜ×öƽÅ×Ô˶¯£¬²¢ÄÜÃè»æ³öÔ˶¯¹ì¼££¬ÊµÑé³É¹¦µÄ¹Ø¼üÊÇСÇòÊÇ·ñ³õËÙ¶Èˮƽ£¬ÒªÇó´ÓͬһλÖöà´ÎÎÞ³õËÙ¶ÈÊÍ·Å£¬ÕâÑù²ÅÄÜÈ·±£Ã¿´ÎƽÅ׹켣Ïàͬ£®
£¨3£©Æ½Å×Ô˶¯ÔÚˮƽ·½Ïò×öÔÈËÙÖ±ÏßÔ˶¯£¬ÔÚÊúÖ±·½Ïò×ö×ÔÓÉÂäÌåÔ˶¯£®¸ù¾ÝÊúÖ±·½ÏòÉÏ¡÷y=gT2£¬Çó³öʱ¼ä¼ä¸ô£¬È»ºó¸ù¾Ýˮƽ·½ÏòÉϵÄÔÈËÙÖ±ÏßÔ˶¯Çó³ö³õËÙ¶È£®
£¨2£©ÔÚʵÑéÖÐÈÃСÇòÄÜ×öƽÅ×Ô˶¯£¬²¢ÄÜÃè»æ³öÔ˶¯¹ì¼££¬ÊµÑé³É¹¦µÄ¹Ø¼üÊÇСÇòÊÇ·ñ³õËÙ¶Èˮƽ£¬ÒªÇó´ÓͬһλÖöà´ÎÎÞ³õËÙ¶ÈÊÍ·Å£¬ÕâÑù²ÅÄÜÈ·±£Ã¿´ÎƽÅ׹켣Ïàͬ£®
£¨3£©Æ½Å×Ô˶¯ÔÚˮƽ·½Ïò×öÔÈËÙÖ±ÏßÔ˶¯£¬ÔÚÊúÖ±·½Ïò×ö×ÔÓÉÂäÌåÔ˶¯£®¸ù¾ÝÊúÖ±·½ÏòÉÏ¡÷y=gT2£¬Çó³öʱ¼ä¼ä¸ô£¬È»ºó¸ù¾Ýˮƽ·½ÏòÉϵÄÔÈËÙÖ±ÏßÔ˶¯Çó³ö³õËÙ¶È£®
½â´ð£º
½â£º£¨1£©Ð¡ÇòƽÅ׵įðµãÓ¦¸ÃÊÇÇòÐÄÔÚľ°åÉϵÄˮƽͶӰµã£¬ÒÔˮƽ·½ÏòΪxÖᣬÊúÖ±·½ÏòΪyÖᣬͼÏóÈçͼËùʾ£º
£¨2£©Ã¿´Î¶¼Ê¹Ð¡Çò±ØÐë´ÓͬһλÖÃÓɾ²Ö¹¿ªÊ¼Ô˶¯£¬ÕâÑù¾ÍÄܱ£Ö¤Ð¡Çò×÷ƽÅ׵ijõËÙ¶ÈÏàͬ£»
£¨3£©ÔÚÊúÖ±·½ÏòÉÏ¡÷y=gT2£¬ÔòT=
=
=0.1s£¬
Ôò³õËÙ¶Èv=
=
=1.6m/s
¹Ê´ð°¸Îª£º£¨1£©ÈçͼËùʾ£» £¨2£©±ØÐ룻 £¨3£©1.6
£¨2£©Ã¿´Î¶¼Ê¹Ð¡Çò±ØÐë´ÓͬһλÖÃÓɾ²Ö¹¿ªÊ¼Ô˶¯£¬ÕâÑù¾ÍÄܱ£Ö¤Ð¡Çò×÷ƽÅ׵ijõËÙ¶ÈÏàͬ£»
£¨3£©ÔÚÊúÖ±·½ÏòÉÏ¡÷y=gT2£¬ÔòT=
|
|
Ôò³õËÙ¶Èv=
| x |
| t |
| 0.16 |
| 0.1 |
¹Ê´ð°¸Îª£º£¨1£©ÈçͼËùʾ£» £¨2£©±ØÐ룻 £¨3£©1.6
µãÆÀ£º½â¾ö±¾ÌâµÄ¹Ø¼üÕÆÎÕÆ½Å×Ô˶¯ÔÚˮƽ·½Ïò×öÔÈËÙÖ±ÏßÔ˶¯£¬ÔÚÊúÖ±·½ÏòÉÏ×ö×ÔÓÉÂäÌåÔ˶¯£®
Á·Ï°²áϵÁдð°¸
Ïà¹ØÌâÄ¿