搜索
题目内容
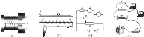
如图所示,图1中螺旋测微器的读数为_____mm,图2中游标卡尺的读数为_____cm.
试题答案
相关练习册答案
7.100(7.099-7.101)(3分);10.155(3分)
解析
练习册系列答案
名师导练系列答案
名师讲堂单元同步学练测系列答案
名师面对面中考满分特训方案系列答案
名师名卷单元月考期中期末系列答案
初中总复习教学指南系列答案
全程导航初中总复习系列答案
中考分类必备全国中考真题分类汇编系列答案
中考分类集训系列答案
中考复习导学案系列答案
中考复习信息快递系列答案
相关题目
(1)如图所示,图1中螺旋测微器的读数为
mm,图2中游标卡尺的读数为
cm.
(2)某待测电阻R
x
的阻值在80Ω~100Ω)之间,现要测量其电阻的阻值,实验室提供如下器材
A.电流表A
1
(量程50mA、内阻r
1
=10Ω)
B.电流表A
2
(量程200mA、内阻r
2
约为2Ω)
C.电流表A
3
(量程O.6A、内阻r
3
约为O.2Ω)
D.定值电阻R
0
=30Ω
E.滑动变阻器R(最大阻值约为10Ω)
F.电源E(电动势为4V)
G.开关S、导线若干
①某同学设计了测量电阻的一种实验电路原理如图甲所示,为保证测量时电流表读数不小于其量程的1/3,M、N两处的电流表应分别选用:M为
;N为
.(填器材选项前相应的英文字母)
②在下列实物图乙中已画出部分线路的连接,请你以笔画线代替导线,完成剩余的线路连接.
③若M、N电表的读数分别为I
M
、I
N
,则R
x
的计算式为R
x
=
如图所示,图1中螺旋测微器的读数为_____mm,图2中游标卡尺的读数为_____cm.
如图所示,图1中螺旋测微器的读数为_____mm,图2中游标卡尺的读数为_____cm.
(1)如图所示,图1中螺旋测微器的读数为______mm,图2中游标卡尺的读数为______cm.
(2)某待测电阻R
x
的阻值在80Ω~100Ω)之间,现要测量其电阻的阻值,实验室提供如下器材
A.电流表A
1
(量程50mA、内阻r
1
=10Ω)
B.电流表A
2
(量程200mA、内阻r
2
约为2Ω)
C.电流表A
3
(量程O.6A、内阻r
3
约为O.2Ω)
D.定值电阻R
=30Ω
E.滑动变阻器R(最大阻值约为10Ω)
F.电源E(电动势为4V)
G.开关S、导线若干
①某同学设计了测量电阻的一种实验电路原理如图甲所示,为保证测量时电流表读数不小于其量程的1/3,M、N两处的电流表应分别选用:M为______;N为______.(填器材选项前相应的英文字母)
②在下列实物图乙中已画出部分线路的连接,请你以笔画线代替导线,完成剩余的线路连接.
③若M、N电表的读数分别为I
M
、I
N
,则R
x
的计算式为R
x
=______
关 闭
试题分类
高中
数学
英语
物理
化学
生物
地理
初中
数学
英语
物理
化学
生物
地理
小学
数学
英语
其他
阅读理解答案
已回答习题
未回答习题
题目汇总
试卷汇总
练习册解析答案