ÌâÄ¿ÄÚÈÝ
ijͬѧÔÚ×ö²â½ðÊôË¿µç×èÂʵÄʵÑéÖУ¬È¡Ò»¸ù´Öϸ¾ùÔȵĿµÍË¿£¬ÏÈÓÃÂÝÐý²â΢Æ÷²â³ö¿µÍË¿µÄÖ±¾¶d£»È»ºó·Ö±ð²â³ö²»Í¬³¤¶ÈL1£¬L2£¬L3£¬L4¡µÄ¿µÍË¿µÄµç×èR1£¬R2£¬R3£¬R4¡£¬ÒÔRΪ×Ý×ø±ê£¬ÒÔLΪºá×ø±ê½¨Á¢Ö±½Ç×ø±êϵ£¬»³öR-LͼÏó£»×îºóÓÉR-LͼÏóºÍÂÝÐý²â΢Æ÷²â³öµÄÖ±¾¶d¿ÉÇó³ö¿µÍË¿µÄµç×èÂÊ£¨1£©²â¿µÍË¿µÄÖ±¾¶Ê±£¬ÂÝÐý²â΢Æ÷µÄʾÊýÈçͼ¼×Ëùʾ£¬¿ÉÖª¿µÍË¿µÄÖ±¾¶d=______×10-3m
£¨2£©Í¼ÒÒÊDz⿵ÍË¿µç×èµÄµç·ÔÀíͼ£¬¸ù¾ÝÔÀíͼÔÚͼ±ûÖÐËùʾµÄʵÎïͼÖл³öÁ¬Ïߣ®ÓÃͼÒÒÖеĵç·²â³öµÄµç×èÖµ±ÈÕæÊµÖµ______£¨Ìî¡°Æ«´ó¡±»ò¡°Æ«Ð¡¡±£©£¬ÕâÖÖÎó²î½Ð×ö______£®
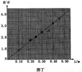
£¨3£©Í¼¶¡ÖÐµÄÆß¸öµã±íʾʵÑéÖвâµÃµÄ7×鿵ÍË¿µÄ³¤¶ÈL¡¢µç×èRµÄÖµ£¬¸ù¾ÝͼºÍÂÝÐý²â΢Æ÷µÄʾÊýÇóµÃµÄ¿µÍË¿µÄµç×èÂʦÑ=£¨±£ÁôÁ½Î»ÓÐЧÊý×Ö£©£®
¡¾´ð°¸¡¿·ÖÎö£º£¨1£©ÂÝÐý²â΢Æ÷¹Ì¶¨¿Ì¶ÈÓë¿É¶¯¿Ì¶ÈµÄʾÊýÖ®ºÍÊÇÂÝÐý²â΢Æ÷µÄʾÊý£®
£¨2£©¸ù¾Ýµç·ͼÁ¬½ÓʵÎïͼ£»°²Åà±íÍâ½Ó·¨£¬ÓÉÓÚµçѹ±íµÄ·ÖÁ÷×÷Ó㬵çÁ÷±í²âÁ¿ÖµÆ«´ó£¬µç×è²âÁ¿Öµ±äС£¬ÕâÊÇϵͳÎó²î£¬²»¿É±ÜÃ⣮
£¨3£©¸ù¾ÝͼÏóµÃµ½RÓëLµÄ±í´ïʽ£¬¸ù¾Ýµç×趨ÂÉR=
ÁÐʽ£¬×îºóÁªÁ¢Çó½â¼´¿É£®
½â´ð£º½â£º£¨1£©Í¼¼×ËùʾÂÝÐý²â΢Æ÷¿ÉÖª£¬¹Ì¶¨¿Ì¶ÈÊÇ0£¬
¿É¶¯¿Ì¶ÈËùʾÊÇ28.1×0.01mm=0.281mm£¬
ÔòÂÝÐý²â΢Æ÷µÄʾÊýÊÇ0+0.281mm=0.281mm£»
£¨2£©°²Åà±íÍâ½Ó·¨£¬ÓÉÓÚµçѹ±íµÄ·ÖÁ÷×÷Ó㬵çÁ÷±í²âÁ¿ÖµÆ«´ó£¬¸ù¾ÝÅ·Ä·¶¨ÂÉR=
£¬µç×è²âÁ¿Öµ±äС£¬ÕâÊÇϵͳÎó²î£¬²»¿É±ÜÃ⣻
ʵÎïÁ¬ÏßͼÈçͼËùʾ£º

£¨3£©½«Í¼ÏóÖеãÓÃÒ»ÌõÖ±ÏßÁ¬½ÓÆðÀ´£¬ÈçͼËùʾ£º

¹ÊR=kl£¬ÆäÖÐk=
=
£¬¹ÊR=8L£»
¸ù¾Ýµç×趨ÂÉ£¬ÓУºR=
£»
ÁªÁ¢µÃµ½£º¦Ñ=8S=8×
=8×
=5.0×10-7¦¸?m£»
¹Ê´ð°¸Îª£º£¨1£©0.281£»£¨2£©Æ«Ð¡£¬ÏµÍ³Îó²î£»ÈçͼËùʾ£»£¨3£©5.0×10-7£®
µãÆÀ£º±¾Ìâ¹Ø¼üÃ÷ȷʵÑéÔÀí¡¢Îó²îÀ´Ô´£¬¸ù¾Ýµç·ͼÁ¬½ÓʵÎïͼ£¬»áÔËÓÃͼÏó´¦ÀíÊý¾Ý£¬½ÏÄÑ£®
£¨2£©¸ù¾Ýµç·ͼÁ¬½ÓʵÎïͼ£»°²Åà±íÍâ½Ó·¨£¬ÓÉÓÚµçѹ±íµÄ·ÖÁ÷×÷Ó㬵çÁ÷±í²âÁ¿ÖµÆ«´ó£¬µç×è²âÁ¿Öµ±äС£¬ÕâÊÇϵͳÎó²î£¬²»¿É±ÜÃ⣮
£¨3£©¸ù¾ÝͼÏóµÃµ½RÓëLµÄ±í´ïʽ£¬¸ù¾Ýµç×趨ÂÉR=
½â´ð£º½â£º£¨1£©Í¼¼×ËùʾÂÝÐý²â΢Æ÷¿ÉÖª£¬¹Ì¶¨¿Ì¶ÈÊÇ0£¬
¿É¶¯¿Ì¶ÈËùʾÊÇ28.1×0.01mm=0.281mm£¬
ÔòÂÝÐý²â΢Æ÷µÄʾÊýÊÇ0+0.281mm=0.281mm£»
£¨2£©°²Åà±íÍâ½Ó·¨£¬ÓÉÓÚµçѹ±íµÄ·ÖÁ÷×÷Ó㬵çÁ÷±í²âÁ¿ÖµÆ«´ó£¬¸ù¾ÝÅ·Ä·¶¨ÂÉR=
ʵÎïÁ¬ÏßͼÈçͼËùʾ£º
£¨3£©½«Í¼ÏóÖеãÓÃÒ»ÌõÖ±ÏßÁ¬½ÓÆðÀ´£¬ÈçͼËùʾ£º
¹ÊR=kl£¬ÆäÖÐk=
¸ù¾Ýµç×趨ÂÉ£¬ÓУºR=
ÁªÁ¢µÃµ½£º¦Ñ=8S=8×
¹Ê´ð°¸Îª£º£¨1£©0.281£»£¨2£©Æ«Ð¡£¬ÏµÍ³Îó²î£»ÈçͼËùʾ£»£¨3£©5.0×10-7£®
µãÆÀ£º±¾Ìâ¹Ø¼üÃ÷ȷʵÑéÔÀí¡¢Îó²îÀ´Ô´£¬¸ù¾Ýµç·ͼÁ¬½ÓʵÎïͼ£¬»áÔËÓÃͼÏó´¦ÀíÊý¾Ý£¬½ÏÄÑ£®
Á·Ï°²áϵÁдð°¸
Ïà¹ØÌâÄ¿