题目内容

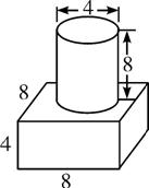
李林发现家庭作业中的几何体图形不清楚,他打电话给同学张明请求帮助,张明面对如本题图的几何体应如何描述.

解析:本题需要对上述几何体作出语言上的描述,有一个语言组织的问题,这里给出如下两种描述:

(1)有一个长方体,它的底面为8×8的正方形,高为4,以上底面的对角线交点为圆心,2为半径画一个圆.这个圆的上面有一个高为8的圆柱.也就是说,这个圆柱的下底面恰好与所画的圆重合.

(2)这个几何体由两部分组成,上面为圆柱体,下面为长方体.长方体的大小为4×8×8,8×8的那一面水平放置.圆柱下底面的圆心与8×8那一面的正方形中心重合.圆柱底面圆的直径为4,圆柱的高为8.

说明:对几何体的语言描述的次序可以不一致,繁简也不同,但一定要根据对方的理解水平作出合理的描述.

练习册系列答案
相关题目

违法和不良信息举报电话:027-86699610 举报邮箱:58377363@163.com

精英家教网