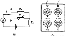
在用实验探究欧姆定律时,按如图所示接好电路,接电路时开关应______(选填“断开”或“闭合”),电流表应______联在电路中,闭合开关S后调节______,使R两端电压成倍地变化,某同学记录如表一,请把漏掉项补上.根据实验数据可得到结论:______.
换用不同的定值电阻使电阻成倍的变化,调节滑动变阻器的滑片,保持每次电阻两端的电压不变,记录的不同值和对应的电流见表二:
根据实验数据可得到结论:______.
换用不同的定值电阻使电阻成倍的变化,调节滑动变阻器的滑片,保持每次电阻两端的电压不变,记录的不同值和对应的电流见表二:
| 电阻R=10Ω | 电压U=6V | |||||||
| 电压(V) | 3 | 6 | 9 | 电阻(Ω) | 5 | 10 | 15 | |
| 电流(A) | 0.3 | 0.6 | 0.9 | 电流(A) | 1.2 | 0.6 | 0.4 | |
某同学在温度一定的条件下,做“探究影响导体电阻大小的因素”的活动,采用了控制变量的方法,下表给出了实验中所用到的导体情况.
(1)选择B、E导体进行对比,是为了探究导体电阻大小与______的关系;
(2)为了探究导体电阻与横截面积的关系,应选择的两根导体是D和______(选填导体的代号).
(3)以上方法在研究物理问题时经常用到,被称为控制变量法.试根据学过的物理知识再列出一例用这种方法研究的问题:______.
| 导线代号 | A | B | C | D | E | F |
| 长度/m | 1.0 | 0.5 | 1.5 | 1.0 | 1.5 | 1.5 |
| 横戴面积/mm2 | 1.2 | 0.8 | 1.0 | 0.6 | 0.8 | 1.0 |
| 材料 | 锰铜 | 钨 | 镍铬 | 锰铜 | 钨 | 锰铜 |
(2)为了探究导体电阻与横截面积的关系,应选择的两根导体是D和______(选填导体的代号).
(3)以上方法在研究物理问题时经常用到,被称为控制变量法.试根据学过的物理知识再列出一例用这种方法研究的问题:______.
在“用电压表和电流表测电阻的实验”中,
(1)实验的原理是:______;
(2)这叫______法测电阻;
(3)如图是某次用电压表和电流表测量小灯泡电阻的实物图,请用笔画线代替导线,按照实验的要求完成电路的连接.(要求:滑动变阻器的滑片向右移时电流表示数变大)
(4)下表是实验中纪录的数据.若不考虑温度对灯丝电阻的影响,灯丝的电阻应该为多少?写在表格中.
0 74449 74457 74463 74467 74473 74475 74479 74485 74487 74493 74499 74503 74505 74509 74515 74517 74523 74527 74529 74533 74535 74539 74541 74543 74544 74545 74547 74548 74549 74551 74553 74557 74559 74563 74565 74569 74575 74577 74583 74587 74589 74593 74599 74605 74607 74613 74617 74619 74625 74629 74635 74643 235360
(1)实验的原理是:______;
(2)这叫______法测电阻;
(3)如图是某次用电压表和电流表测量小灯泡电阻的实物图,请用笔画线代替导线,按照实验的要求完成电路的连接.(要求:滑动变阻器的滑片向右移时电流表示数变大)
(4)下表是实验中纪录的数据.若不考虑温度对灯丝电阻的影响,灯丝的电阻应该为多少?写在表格中.
| 次数 | 灯泡两端电压U/V | 通过灯丝电流I/A | 灯丝的电阻R/Ω | R=? |
| 1 | 2.2 | 0.26 | ||
| 2 | 2.5 | 0.28 | ||
| 3 | 3.0 | 0.30 |