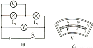
小明同学按如图所示的电路进行实验,分别用不同规格的灯炮替换L2,得到如下表所示的实验数据:
(1)分析电流表A1、A2的示数,可得出结论______
(2)分析电压表Vl、V2、V的示数,可得出结论______.
| 实验次数 | A1表示数I/A | A2表示数I/A | V1表示数U/V | V2表示数U/V | V表示数U/V |
| 1 | 0.4 | 0.4 | 4 | 8 | 12 |
| 2 | 0.6 | 0.6 | 6 | 6 | 12 |
| 3 | 0.8 | 0.8 | 8 | 4 | 12 |
(2)分析电压表Vl、V2、V的示数,可得出结论______.
在探究水的沸腾、海波和石蜡的熔化规律时,小琴记录的实验数据如下表所示.请回答下列问题.
(1)在上述三个探究实验中,都需要的测量仪器是秒表和______;
(2)根据表中的实验数据可以判断:海波的温度达到53℃时,其状态是______;(选填“固态”或“液态”)
(3)根据表中的实验数据可知:该实验中水的沸点是______℃.
(1)在上述三个探究实验中,都需要的测量仪器是秒表和______;
(2)根据表中的实验数据可以判断:海波的温度达到53℃时,其状态是______;(选填“固态”或“液态”)
(3)根据表中的实验数据可知:该实验中水的沸点是______℃.
| 加热时间/min | 1 | 2 | 3 | 4 | 5 | 6 | 7 | 8 | 9 | 10 | 11 | 12 | |
| 石蜡的温度/℃ | 40 | 41 | 42 | 44 | 46 | 47 | 48 | 49 | 51 | 52 | 54 | 56 | 59 |
| 海波的温度/℃ | 40 | 42 | 44 | 46 | 48 | 48 | 48 | 48 | 48 | 48 | 50 | 53 | 56 |
| 水的温度/℃ | 92 | 93 | 94 | 95 | 96 | 97 | 98 | 99 | 99 | 99 | 99 | 99 | 99 |
将两盏相同的灯L1和L2串联或并联后,直接接在电压为6V的电源上.两灯都发光.请根据下列操作及观察到的现象,判断灯L1、L2的连接方式,并填入表格中.
0 74131 74139 74145 74149 74155 74157 74161 74167 74169 74175 74181 74185 74187 74191 74197 74199 74205 74209 74211 74215 74217 74221 74223 74225 74226 74227 74229 74230 74231 74233 74235 74239 74241 74245 74247 74251 74257 74259 74265 74269 74271 74275 74281 74287 74289 74295 74299 74301 74307 74311 74317 74325 235360
| 操作 | 取下一盏灯 | 取下一盏灯 | 将电压表并联接在一盏灯的两端 | 将电压表并联接在一盏灯的两端 |
| 现象 | 另一盏灯仍能发光 | 另一盏不发光 | 电压表示数为3V | 电压表示数为6V |
| L1、L2连接方式 |