如图所示,是在某次实验探究中连接的电路,则下列说法不正确的是![]()
| A.灯L1和灯L2是并联的 |
| B.开关S2控制的是灯L2 |
| C.只闭合开关S1时,电流表测量的是灯L1中的电流 |
| D.开关S1闭合后,再闭合开关S2,灯L1的实际功率会变大 |
如图所示,电源电压不变,当开关S1、S2同时闭合时,电流表的示数是0.3A,电压表示数是6V。若两表互换位置,当开关S2闭合、S1断开时,电流表示数是0.2A,则下列说法不正确的是![]()
| A.R1和R2的阻值之比是2:1 | B.R2的阻值是20Ω |
| C.电压表示数仍是6V | D.R2消耗的功率为0.4W |
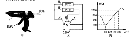
图甲所示的热熔胶枪是一种装修工具,用于材料涂胶。它的内部有2只相同的PTC(正温度系数)加热元件,其工作电路如图乙所示,扣动扳机能使固体胶条向前挤压,联动开关S同时掷向A、B,枪口冒出胶液,松开扳机,联动开关S同时掷向B、C。单只PTC元件的电阻随温度的变化如图丙所示。关于PTC元件的工作情况,下列说法中正确的是 ( )![]()
| A.扣动扳机,两只PTC元件串联在电路中 |
| B.松开扳机,只有一只PTC元件接入电路 |
| C.松开扳机,当温度为80℃时,电路消耗的电功率为55W |
| D.扣动扳机,当温度为180℃时,1min电路消耗的电能为4800J |
在图所示的电路中两只电压表完全相同,其指针均指在刻度盘的中央,以下判断正确的是( )![]()
| A.通过R1的电流大于通过R2的电流 |
| B.R1两端的电压等于R2两端的电压 |
| C.R1的阻值小于R2的阻值 |
| D.R1消耗的功率大于R2消耗的功率 |
如图所示,电源电压恒为12V不变,RL、R1及滑动变阻器的最大阻值分别是10Ω、40Ω、50Ω,灯的额定电压为12V,忽略温度对灯丝电阻的影响,则下列说法正确的是( )![]()
| A.当S闭合,S1断开,滑片P在b端时,灯泡的功率为0.4J |
| B.当S闭合,S1断开,滑片P在b端时,电流表的示数为0.2A |
| C.当S闭合,S1断开,滑片P在a端时,灯每秒钟消耗的电能为14.4W |
| D.当S、S1均闭合,滑片P在a端时,电路总功率为14.4W |
如图所示,电源两端的电压保持不变,R0为定值电阻。将滑动变阻器的滑片P置于最右端,闭合开关S。移动滑动变阻器的滑片P到某一位置,此时滑动变阻器接入电路中的电阻为R1,电压表的示数为U1,电流表的示数为I1。继续移动滑动变阻器的滑片P,使滑动变阻器接入电路中的电阻值减小为R1/4,此时电压表的示数增大到2U1,电流表的示数变为I2。则![]()
| A.2I2= I1 |
| B.R0:R1=1:4 |
| C.当滑动变阻器的滑片P滑到最右端时,电压表的示数为3U1 |
| D.当滑动变阻器的滑片P滑到最左端时,电压表的示数为3U1 |
小明对新型LED灯带很好奇,取一段剖开后发现,灯带中的LED灯是串联后通过电源适配器接入照明电路的.他取下其中一只LED灯接在电池两端没有亮,对调电池正负极后亮了,用手试摸,点亮的灯几乎不发热.以下推断符合上述实验事实的是( )![]()
| A.单只LED灯工作电压是220V |
| B.LED灯主要是将电能转化为内能 |
| C.电源适配器是将交流电转变为直流电 |
| D.灯带中一只LED灯断路后其他灯还亮 |
小明同学利用压敏电阻设计出判断小车运动状态的装置,其工作原理如图甲所示,将压敏电阻和一块挡板固定在绝缘小车上,中间放置一个绝缘小球,小车始终在平直的轨道上向右运动。压敏电阻R的阻值随所受的压力增大而减小,当小车向右作匀速直线运动时,绝缘球对小车的挡板及压敏电阻的压力均为零,压敏电阻R的阻值最大。小车在整个运动的过程中,电流表的示数随时间的变化情况如图乙所示。已知电源电压为6V,电阻R0为5Ω,小车在0~10s内作匀速直线运动,速度为0.5m/s。则在下列说法中错误的是( )![]()
| A.小车作匀速直线运动时,压敏电阻R的阻值是10Ω |
| B.小车在0~20s内,当电路中电流最大时压敏电阻所消耗的功率是6W |
| C.小车在0~8s内通过的路程是4m |
| D.小车在10~20s内的运动状态发生了变化 |
在如图所示的电路中,电源电压和定值电阻R的阻值都保持不变,闭合开关,当滑片由A端滑到B端的过程中![]()
| A.电阻R两端的电压保持不变 |
| B.电阻R的功率不断变小 |
| C.滑动变阻器两端的电压不断变小 |
| D.电路的总功率不断变大 |