小军和小民班的同学在老师的指导下,用图甲所示的装置“探究凸透镜成像的规律”。

(1)他们按照图甲所示安装各种器材后,点燃蜡烛,应先调节烛焰、凸透镜和光屏的高度,使三者的中心大致在              
(2)实验小组依次选取了不同的物距分别进行实验,同时记录下相关实验数据和观察到的成像情况,如下表。
探究实验记录表(凸透镜焦距f=10cm)

实验次数
物体到凸透镜距离
(物距u/cm)
像的放大或缩小
像的正立或倒立
像的虚实
1
30
缩小
倒立
实像
2
25
缩小
倒立
实像
3
20
等大
倒立
实像
4
16
放大
倒立
实像
5
12
放大
倒立
实像
6
8
放大
正立
虚像
7
4
放大
正立
虚像
分析表中数据可知:当物距大于2倍焦距时,凸透镜成倒立、        的实像;
如果将蜡烛移动到距离凸透镜15 cm处,凸透镜所成的像是                    
此像       (选填“能”或“不能”)用光屏承接。
(3)进一步分析实验数据和观察到的成像情况:凸透镜可以成实像也可以成虚像,二者成像特点的不同是                  
(4)实验时同学们发现,在观察光屏上淸晰的烛焰像的过程中,随着蜡烛的燃烧,光屏上的像向     (选填“上”或“下”)移动。
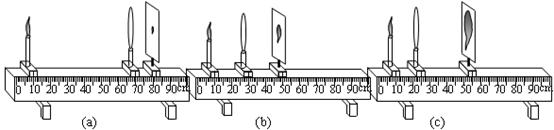
(5)小明学完“凸透镜成像规律”之后,用凸透镜看“照相机”三个字,并在笔记本上画出了如图乙所示的实验现象,其中       图是画错的,        图反映了放大镜的成像原理。

 0  71693  71701  71707  71711  71717  71719  71723  71729  71731  71737  71743  71747  71749  71753  71759  71761  71767  71771  71773  71777  71779  71783  71785  71787  71788  71789  71791  71792  71793  71795  71797  71801  71803  71807  71809  71813  71819  71821  71827  71831  71833  71837  71843  71849  71851  71857  71861  71863  71869  71873  71879  71887  235360 

违法和不良信息举报电话:027-86699610 举报邮箱:58377363@163.com

精英家教网