搜索
观察下列三个表格,试选其中一个表格,分析表中数据,写出一个与声音传播速度有关的结论;
结论:例如:声音在不同介质中传播速度是不同的;________.
物质一般以________、________和________三种形式存在.多数物质从液态变为固态时体积________.固态物质中,分子间有强大的作用力,因而,固体具有一定的________和________.液态物质中,分子运动比较自由,粒子间的作用力比固体________.因此液体没有确定的形状,但具有________.气态物质中,分子间距大,所以容易被________.
如图所示,手指用力水平捏住铅笔头的两端,与笔尖接触的手指却感到疼,这说明________. 手一松开,笔在重力作用下下落,说明力可以改变物体的________.
某同学坐上旋转游艺机,在游艺机旋转的过程中,他看见周围的人和建筑物都在旋转,他是以________ 为参照物下的结论.乌云遮住了月亮,这句话的描述对像是________,选的参照物是________.
在物理综合实践活动中,小华设计了如图所示的机械模型.推动硬棒CD或EF,使它们在水平面内绕轴O转动,即可将绳逐渐绕到轴O上,提升重物G.硬棒CD是________力杠杆,滑轮B________(能/不能)改变力的大小.在重物上升的过程中,轴O上增加的绳长________重物上升的高度.
一串小彩灯,规格都是“4V 0.2A”,每个小彩灯的结构如图所示,在正常情况下,细金属丝由于表面有一层氧化铜而与灯丝支架不导通,若加上200V以上电压时,氧化铜被击穿,细金属丝与灯丝支架导通.若将这种规格的小彩灯接入220V电路中,为使小彩灯正常发光,请通过计算说明:(1)应串联多少个小彩灯?(2)若其中一只小彩灯的灯丝被烧断,其它小彩灯是否还能发光?为什么?
一列车做匀速直线运动,下表表示形式路程s与对应的时间t,在图中作出s-t图象及v-t图象.
s/米
0
150
300
450
600
t/秒
0
5
10
15
20
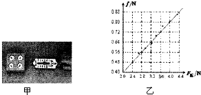
如图甲所示,某同学利用弹簧测力计测量木块在水平金属桌面上的摩擦力:
(1)实验时发现,当拉力等于0.5N时,木块保持静止,此时木块受到的摩擦力大小为______N;若要测出木块受到的滑动摩擦力大小,应该在木块______时读出弹簧测力计的示数.
(2)通过在木块上增减砝码,改变木块与金属桌面之间的压力,多次测量得到如图乙所示的滑动摩擦力f随压力F
压
变化的图象.则当压力等于4.0N时,滑动摩擦力等于______N.
(3)物理学中,将滑动摩擦力与压力的比值称为动摩擦因数.由图乙可求出木块与金属桌面间的动摩擦因数大小为______.
如图所示,电源电压恒定不变,当S闭合后,滑动变阻器的滑片P向右移动的过程中,小灯泡的亮度________(选填“变亮”、“变暗”或“不变”),电压表的示数________(选填“变大”“变小”或“不变”)
如图所示;三个相同的容器中,分别装有等质量的水、盐水和酒精,则可以判定________容器中是盐水,________容器中是酒精.
0
15835
15843
15849
15853
15859
15861
15865
15871
15873
15879
15885
15889
15891
15895
15901
15903
15909
15913
15915
15919
15921
15925
15927
15929
15930
15931
15933
15934
15935
15937
15939
15943
15945
15949
15951
15955
15961
15963
15969
15973
15975
15979
15985
15991
15993
15999
16003
16005
16011
16015
16021
16029
235360
关 闭
试题分类
高中
数学
英语
物理
化学
生物
地理
初中
数学
英语
物理
化学
生物
地理
小学
数学
英语
其他
阅读理解答案
已回答习题
未回答习题
题目汇总
试卷汇总
练习册解析答案