水是生命之源,人类的日常生活与工农业生产都离不开水。
|
|
|
|
|
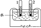
A.水的沸腾 |
B.水的电解 |
C.水的净化 |
(1)对于A中水的沸腾,下列说法正确的是(填字母序号,下同) ;
A.水分子不断运动 B.水分子之间间隔不变
C.该变化属于物理变化 D.水分子保持不变
(2)B中试管2内得到的气体为 ,它的检验方法是 ;该实验证明水是由___________组成的,化学反应方程式为_____ 。
(3)C中净化水的方法是 和吸附。
溶液是生活中常见的物质,依据相关信息回答问题:
小资料:硝酸钾的溶解度数值如下所示:
|
项目 |
10℃ |
20℃ |
30℃ |
40℃ |
50℃ |
60℃ |
70℃ |
|
KNO3 |
21g |
32g |
46g |
64g |
86g |
110g |
138g |
(1)硝酸钾溶液中的溶质是 。
(2)现有A、B、C、D四个烧杯中分别盛有50g水,在40℃时,向四个烧杯中分别加入55g、43g、32g、16g硝酸钾,充分溶解后,如图所示。
![]()
① 中盛的一定是饱和溶液, 中盛的一定是不饱和溶液。
②使B烧杯的溶液升温至50℃时,溶液的质量为 g。
③采用一种方法使A中的固体恰好溶解,对于最终四个烧杯中的溶液说法正确的是 。
A.溶剂质量可能相等 B.烧杯A中的溶液质量分数可能最大
C.溶质质量分数可能有相等的 D.溶质质量可能相等