33、在利用光具座做“研究凸透镜成像”的实验时:

(1)小雨同学只能在光屏下边缘看到一个残缺的像,这是由于烛焰、透镜、光屏三者的中心_________________的缘故。

(2)另有小雷同学,保持烛焰和透镜的位置不变,无论怎样移动光屏,都不能在光屏上看到烛焰的像,则可能的原因是____________________________。

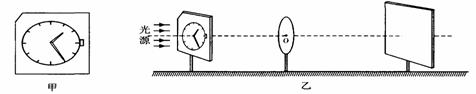
(3)小雪做完实验后,又想用手表代替蜡烛,看在光屏上能成什么样的像。于是他在透明的玻璃板上用黑色笔画了个手表盘,如图(甲)所示。把这个玻璃板放在蜡烛的位置上,并用平行光源对着玻璃板上的表盘照射,如图(乙)所示。移动光屏直到成清晰像为止。此时表盘在光屏上所成的像是图(丙)中的哪一个?(   )

34、物体在流体(液体和气体)中运动时,受到的阻碍物体运动的力,叫流体阻力.这种阻力的大小与哪些因素有关呢?

流线型汽车      战机着陆打开阻力伞     模仿鲔鱼体形的核潜艇

(第35题图)

(1) 请仔细观察如图所示的应用实例,对影响流体阻力的因素提出一种猜想:           

                  [题(2)中的猜想除外];

(2)小刚同学猜想:流体阻力可能与运动物体表面粗糙程度有关.

他设计了如下的实验方案:

①用弹簧秤拉一艘底面光滑的船模型在水中运动,记下弹簧秤的示数F1

②用弹簧秤拉另一艘底面粗糙的船模型在水中运动,记下弹簧秤的示数F2

③通过比较F1 F2的大小,就能得出物体受到流体阻力是否与物体表面粗糙程度有关.

请你对小强同学的实验方案中存在的问题,进行评估(只需写出一条评估意见):

                                 .

 0  393720  393728  393734  393738  393744  393746  393750  393756  393758  393764  393770  393774  393776  393780  393786  393788  393794  393798  393800  393804  393806  393810  393812  393814  393815  393816  393818  393819  393820  393822  393824  393828  393830  393834  393836  393840  393846  393848  393854  393858  393860  393864  393870  393876  393878  393884  393888  393890  393896  393900  393906  393914  447348 

违法和不良信息举报电话:027-86699610 举报邮箱:58377363@163.com

精英家教网