题目内容

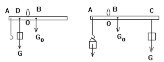
图中杆秤自重G0=5N, 重心在B点, 砣重G=10N, OB=3cm, AO=2cm, OC=15cm.

(1)零刻度距O点______cm

(2)此秤能称物体的最大重力______N.(都取1位小数)

答案:1.5,82.5
解析:

解:(1)如图甲, 设零刻度在D点, 不称物体时, 由平衡条件 G·OD=G0·OB

      OD=·OB=×3cm=1.5cm

   (2)设能称物体的最大重力为Pm, 如图乙, 由平衡条件

       Pm·OA=G0·OB+G·OC

      得      

 

          


练习册系列答案
相关题目

违法和不良信息举报电话:027-86699610 举报邮箱:58377363@163.com

精英家教网