题目内容

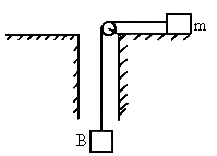
如图所示,在空心轴的转台上旅转一物块m,用绳的一端系住m,绳的另一端穿过空心轴而吊一重物B.当转台以角速度ω转动时(设物体始终与转台同步旋转),它的旋转半径为r,若一切摩擦不计,下面的叙述中正确的是

[  ]

A.若ω变为2ω,必须把物体放在处,它才会静止在转台上

B.物块的质量增大一倍,必须把它放在处,它才会静止在转台上

C.若ω逐渐增大,重物B将向下移动

D.若ω逐渐增大,物体将离轴向外移去

答案:AD
解析:

物体做圆周运动的向心力由绳的拉力提供,则:

当ω→2ω增大,则r;当m2m,则r;当ω增大,绳的拉力不足以提供向心力,物体将逐渐远离圆心,即做离心运动.


练习册系列答案
相关题目

违法和不良信息举报电话:027-86699610 举报邮箱:58377363@163.com

精英家教网